Insight 全球新药模块重磅升级!超 3 万可溯源数据轻松查
Insight 数据库全球新药模块重磅升级! 囊括全球近 4 万个新药、改良新及类似药项目,将临床前到获批上市全流程打通,每日持续更新,信息准确可溯源,并提供多样化的筛选及分析功能,让企业决策更精准,工作更高效。
本文将以 ADC 领域新药开发为例,选取部分功能使用场景做简单介绍。Insight 数据库同时还拥有医药交易和临床试验结果功能,后续将陆续公开获取及使用指南,敬请期待!* 以下数据截至 2022 年 6 月 28 日,更多信息欢迎使用 Insight 数据库查询
场景一
一览重点赛道境内外开发现状
把握市场新机会
据丁香园 Insight 数据库全球新药模块显示,当前全球已有 587 个 ADC 新药在开发。通过「可视化」浏览全局情况,全球共 15 个 ADC 药物获批上市,其中 5 个已在中国获批;临床试验阶段新药更是项目众多,全球有 281 个已启动临床的 ADC 药物,71 个在中国已进入临床开发阶段。
ADC 新药全球进度分布
Insight 数据库全球新药模块提供丰富的境内外数据对比能力,可从全球、中国内地、境外 3 个不同维度,从临床 I/II/III 期到上市 4 个不同阶段分别对比展现新药开发趋势,还可通过境内外项目数量的对比一览全球概况。
从近 7 年趋势来看,全球 ADC 药物研发总体呈现稳中有升的态势,每年平均推动约 20 个新药进入 I 期临床,约 5 个新药进入 III 期研发当中,总体临床进展在 2021 年呈现小高峰。
全球临床研发阶段 ADC 药物近 7 年趋势
将境内外 I 期临床项目趋势作对比,相较于境外项目新增量的下滑,国内的新项目增长势头无疑是十分显著的。
境内外新进 I 期临床 ADC 项目趋势对比
具体到各阶段项目总数对比,可以看到国内处于 III 期研发的 ADC 项目数高于境外,正在进入爆发期,未来几年有望迎来多款新药报批。
ADC 药物境内外进度分布对比
点击图表中相应数据点,可跳转至原始数据列表,查看每一个项目的详情信息。如 2021 年度在中国进入 I 期临床的 ADC 新药共有 16 个,恒瑞医药独占 4 个,遥遥领先。
中国 2021 年度进入 I 期临床 ADC 新药企业排行
其中,华东医药的 FRα ADC 进展最快,该药为 2020 年 10 月引进自 ImmunoGen 公司的品种,2019 年中国已经参与到其国际多中心 III 期临床试验中,华东医药引进后又于 2021 年启动了一项 I 期临床,2022 年初登记了一项针对中国人群的 III 期临床,离国内申报上市已经不远。
中国 2021 年度进入 I 期临床 ADC 新药列表
若要分析国内企业参与的 ADC 项目,Insight 数据库中 [企业总部所在国家] 选项可以实现。选择总部位于中国的企业,可以看到目前这些 ADC 新药在境外开展的临床试验还比较少,国产创新药出海空间仍旧很大。
分析 ADC 赛道重点企业,
洞察投资新机会
检索 ADC 药物,通过企业排名详情,可以看到同领域重点布局企业。组合使用 Insight 数据库的丰富筛选项,可辅助对更细分赛道做分析。
全球来看,ADC 龙头当属 Seagen,该公司拥有 44 个 ADC 新药。而把目标锁定在国内,从项目数来讲,TOP5 企业分别为多禧生物(18)、荣昌生物(12)、普方生物(11)、百利天恒药业(11)、恒瑞医药(9)、美雅珂(9)。
光标移至相应柱子,可以看到目标企业项目所处阶段概况,点击柱子即可跳转至项目清单,一览各项目靶点适应症等详细信息。多禧生物是 ADC 领域榜首,拥有 18 个 ADC 项目。虽然大多处于临床前,但潜力无限。普方生物与多禧生物同样,当前项目均为临床前。
荣昌生物则是国内进展最快的企业,首款 ADC 新药已经上市成为国产首款,3 个品种也已经进入临床。而论起临床阶段 ADC 项目最多的企业则当属恒瑞,该公司有 8 个已经进入临床研究的 ADC 药物,其中 3 个在境外也开展了临床试验。
恒瑞医药 ADC 项目列表
具体分析荣昌生物的管线详情,筛选「新药类型」为新药或该良新,可一览目前荣昌生物在研产品。切换至「按可视化」即可得到相关的可视化图表,结果更加一目了然。
当前,荣昌生物共有 22 款新药在研,其中已获批上市的 2 款,而处于早期阶段的产品共有 16 款(含临床前以及临床 I 期阶段)。点击甘特图,即可跳转到相应的品种列表进而查看详细信息,如获批上市的两款产品分别为维迪西妥单抗和泰它西普。
荣昌生物两款获批上市的新药
从成分类别来看,荣昌生物在研新药以 ADC 为主,共有 12 款,占比约为 55%,此外,还布局了双抗、单抗等。
荣昌生物在研新药类别分布
从适应症来看,荣昌生物研发管线覆盖自身免疫、抗肿瘤、眼科等领域,其中以肿瘤领域为主。
荣昌生物在研产品适应症分布
而从靶点布局情况来看,除 HER2 外,还重点布局了 CD19 (3 款)和 EGFR(2 款)。
荣昌生物在研新药靶点分布
场景三
掌握重点项目全球适应症开发状态,
为同类新药开发提供借鉴
在项目详情页,可查看重点项目全球开发情况,如重点项目开发重要节点、适应症全球开发进展、临床试验登记及结果、重要医药交易事件等全生命流程信息。下面以荣昌生物的核心产品「维迪西妥单抗」为例。
查看项目重要事件及相关时间节点
打开项目详情,首先可以看到新药的简介、结构/机制、靶点、成分类别、研发机构等基本信息。在药品名称下方,可以看到该药在全球各国的优先审评通道、突破性疗法和附条件批准纳入情况。
「项目概览」板块清晰展示了该项目的重点事件及时间节点。维迪西妥单抗于 2015 年 9 月在国内获批临床,同年 12 月首次启动临床,2020 年 8 月首次申报上市,去年 6 月首次获批上市。而在境外,维迪西妥单抗于 2021 年 4 月在美国时首次公示临床。
临床研究进展及适应症开发情况
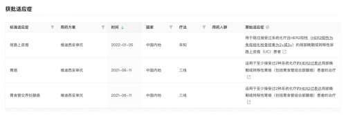
在「获批适应症」板块中,可看到维迪西妥单抗已获批上市的适应症、用药方案、获批时间、国家/地区、疗法类型以及用药人群。原始适应症均提供溯源,可一键直达官方信源。可以看到,在 2021 年 6 月维迪西妥单抗首次获批用于至少接受过 2 种系统化疗的 HER2 过表达局部晚期或转移性胃癌(包括胃食管结合部腺癌)患者的治疗。此后于今年 1 月再次获批,用于治疗既往接受过系统化疗且 HER2 阳性( HER2 阳性为免疫组化检查结果为 2+ 或 3+)的局部晚期或转移性尿路上皮癌(UC)患者。
维迪西妥单抗获批适应症当前,维迪西妥单抗在全球已登记有 22 项临床试验。除胃癌、尿路上皮癌外,还在开展多项针对乳腺癌、胆道癌、结直肠癌等 10 余个癌种的临床研究。除中国外,还在美国也登记开展了临床试验。
维迪西妥单抗获批适应症
在「甘特图」中,可以根据检索需求筛选查看目标新药的特定适应症在特定地区不同研发阶段的相应进度。如查看除已获批适应症之外进展最快的乳腺癌适应症,维迪西妥单抗目前正在开展一项随机、对照、多中心 III 期临床研究,旨在评价该药治疗 HER2 低表达局部晚期或转移性乳腺癌有效性和安全性。2020 年 9 月该研究已经在国内完成首例患者的入组工作。
维迪西妥单抗乳腺癌适应症在研情况
在「临床结果」板块,可查看已披露重点项目的临床试验结果。如筛选 [乳腺癌] 适应症,目前维迪西妥单抗已有 3 项临床试验结果分别在 2018 ASCO 和 2021 ASCO 中公布,均为 I 期 C003 CANCER 试验结果。其中既包括治疗 HER2 阳性乳腺癌的初步数据,也包括针对 HER2 低表达乳腺癌的 I 期临床试验数据。
了解产品的出海情况
在出海进展方面,2021 年 8 月 9 日,荣昌生物以 2 亿美元首付款+最高 24 亿美元里程碑付款将维迪西妥单抗授权给海外 ADC 巨头 Seagen,该公司保留在包括大中华区、亚洲所有其他国家(日本、新加坡除外)开发和商业化维迪西妥单抗的权益,而 Seagen 将获得以上许可地区之外的全球开发和商业化权益。
维迪西妥单抗医药交易
(来源:新视线)