新浪新闻 社会

张继科茶饮品牌债务逃避案将开庭

中国新闻周刊

关注

[张继科茶饮品牌债务逃避案将开庭]企查查APP显示,近日,张继科作为联合创始人的品牌猴子的救兵(北京)餐饮管理有限公司新增一则开庭公告,案由为股东损害公司债权人利益责任纠纷,开庭时间为5月18日,开庭法院为广东省深圳市盐田区人民法院。企查查信息显示,猴子的救兵(北京)餐饮管理有限公司成立于2018年8月,注册资本约116万元人民币,法定代表人赵子昆。值得关注的是,该公司已存在多条限制高消费、终本案件信息。(九派新闻)

相关报道:创立茶饮品牌成老赖?同名商标公司均注销,看看张继科商业版图有多大(第一财经网)

2017年,《体坛周刊》公布了中国体坛财富榜,张继科2016年以6000万元收入排在第二,仅次于孙杨

近日,退役乒乓球运动员张继科被曝涉赌债纠纷,以及涉嫌传播他人隐私视频。对此,张继科工作室紧急回应称,张继科无任何债务纠纷,更不存在损害他人隐私以求自保之情况。

张继科1988年2月16日出生于山东省青岛市,是中国男子乒乓球队运动员,也是世界冠军、奥运冠军。作为退役后进军娱乐圈的运动员,张继科的商业价值一直较高。2017年,《体坛周刊》公布了中国体坛财富榜,张继科2016年以6000万元收入排在第二,仅次于孙杨。

张继科几年来参加了《约吧大明星》《跨界歌王》《天天向上》《我们来了》《熟悉的味道》《挑战不可能》《吐槽大会》《女儿们的恋爱》等20多档综艺类节目。而且张继科代言的品牌也非常,甚至还自己创立了茶饮公司。

目前张继科名下仅关联1家公司,为北京飞獒天下商贸有限公司。天眼查App显示,北京飞獒天下商贸有限公司股东名为张继科,该公司微博、微信公众号曾多次用张继科照片宣传“茅台金牌厚礼冠军酒”。网传视频显示,张继科还曾出席“金牌厚礼冠军酒发布会暨张继科粉丝答谢会”。

北京飞獒天下商贸有限公司成立于2019年5月,注册资本1000万人民币,法定代表人为姚慧,经营范围含食品经营(仅销售预包装食品),设计、制作、代理、发布广告,组织文化艺术交流活动(不含演出),演出经纪等,由田国君、张继科、姚慧分别持股55%、35%、10%。

此前有网传消息称,姚慧为张继科新女友。对此,张继科工作室曾发布署名为北京一如继往体育文化发展有限公司的声明称,部分网友公然散播有关张继科先生私生活、隐婚生子等不实消息,工作室将保留追究法律责任的权利。

天眼查显示,北京一如继往体育文化发展有限公司成立于2019年8月,法定代表人、执行董事、经理为张继科母亲徐锡英,监事为张继科父亲张传铭。不过,该公司已于2022年4月注销。

此外,抢注“张继科”商标公司均已注销。

天眼查App显示,“张继科”商标曾在2012年、2016年分别被江苏永名体育器材有限公司、北京聚赛文化发展有限公司申请注册,国际分类均为健身器材。不过,两枚商标均已被驳回。值得一提的是,申请“张继科”商标的两家公司已注销。

张继科的创业之路不是非常顺利。有网友爆料称,自己加盟了张继科联合创立的奶茶品牌“猴子的救兵”,但该品牌存在虚假宣传、未进行特许经营备案等情况,使得自己损失了近5万元。

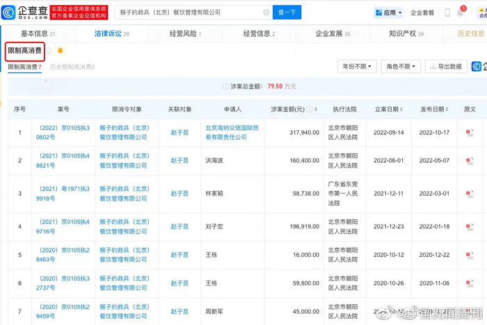
企查查APP显示,加盟商曝出的奶茶品牌隶属于猴子的救兵(北京)餐饮管理有限公司,该公司成立于2018年,公司实控人已七次被限制高消费,2021年5月被北京市朝阳区市场监督管理局列为经营异常。企查查信息显示,目前该公司并未查询到张继科持股的情况,不过,据媒体公开报道,其股份由亲人代持。此外,猴子的救兵茶饮官微曾宣称,公司为张继科联合创始的品牌。

加载中...