新浪新闻 社会

知名女主持丈夫成“老赖”?被追债783万元

新浪新闻

关注

据中国执行信息公开网,上海市浦东新区人民法院近日发布限制消费令,限制览海控股及览海控股法定代表人密春雷不得实施高消费及非生活和工作必需的消费行为。

密春雷另一个广为人知的身份,则是著名主持人董卿的丈夫。2021年的胡润百富榜显示,密春雷的财富超过100亿元人民币。2022年他曾“失联”近半年时间,直至2022年7月才“现身”。

据中国执行信息公开网消息:

上海市浦东新区人民法院2月22日发布的限制消费令显示,在东方富利国际有限公司与览海控股(集团)有限公司(下称“览海控股”)相关合同纠纷案中,因览海控股未按执行通知书指定的期间履行生效法律文书确定的给付义务,对览海控股采取限制消费措施,限制览海控股及览海控股法定代表人密春雷不得实施高消费及非生活和工作必需的消费行为,其中包括,乘坐交通工具时,选择飞机、列车软卧、轮船二等以上舱位;在星级以上酒店等场所高消费;旅游、度假;子女就读高收费私立学校等。

被国企追债783万元

而此次向密春雷追债的东方富利国际有限公司来头也不小。据中远海发官网显示,东方富利是中远海运发展的全资子公司。而中远海运发展股份有限公司是中国远洋海运集团有限公司所属专门从事航运物流产融服务的公司,是中远海运集团旗下核心产业之一。

法院判决显示:

案外人海盛公司系成立于2016年1月27日的有限责任公司,注册资本为5亿元,股东为览海洛桓公司(认缴出资2.5亿元,持股比例50%)、上海人寿保险股份有限公司(认缴出资1.25亿元,持股比例25%)、原告(东方富利)(认缴出资1.25亿元,持股比例25%)。案外人览海洛桓公司系成立于2015年11月26日的有限责任公司,被告(览海控股)为览海洛桓公司的股东,持股比例100%。

2019年12月31日,被告向原告出具《承诺函》,承诺2020年按照原告实际投资于海盛公司金额的6%(年化)进行保底分红,分红款合计750万元整。

法院认为,海盛公司2020年净利润为负数,且审理中被告表示同意支付原告分红补偿款750万元,系被告对自己权利的处分,于法不悖,本院予以准许。

法院于2022年9月26日判决,览海控股应于本判决生效之日起十日内支付原告东方富利分红补偿款750万元及利息损失。

2022年11月18日

东方富利申请执行

执行标的为783.17万元

旗下公司已退市

2022年6月21日,退市海医披露称,公司收到股票终止上市决定,上交所决定终止公司股票上市。据了解,因2020年经审计的净利润为负值且营业收入低于人民币1亿元,退市海医自2021年5月6日起被实施退市风险警示。2022年4月30日,退市海医披露2021年年度报告,2021年度财报被出具保留意见的审计报告。

按照相关规定,览海医疗股票将于6月28日进入退市整理期交易,证券简称将由“*ST海医”变更为“退市海医”,退市整理期为15个交易日,最后交易日为7月18日。

曾失联近半年

2022年初,密春雷便去向不明,处于失联状态。直至2022年7月,密春雷终于“现身”。

2022年7月6日晚间,退市海医披露公告称,董事、董事长密春雷因个人原因授权公司董事倪小伟代为履行董事长职责,授权期限于7月6日到期,自7月7日起,密春雷正常履行公司董事、董事长职责,不再授权倪小伟代为履行董事长职责。

除了担任公司董事长之外,密春雷还是退市海医的实控人。

据报道,密春雷出生于上海崇明,2003年创办览海控股(集团)有限公司,为人颇为低调神秘。2019年的胡润百富榜上,密春雷以60亿元人民币财富排名684位。2020年密春雷再次上榜,身家超百亿。2021年的胡润百富榜显示,密春雷的财富超过100亿元人民币。

密春雷及览海控股被执行金额超9亿元

中国执行信息公开网显示,截至目前,密春雷及览海控股被执行总金额约9.33亿元

2022年6月21日,密春雷、上海览海投资有限公司、览海控股(集团)有限公司新增被执行案件,执行标的约7.19亿元,执行法院为上海市金融法院,案号均为(2022)沪74执215号。

2022年11月18日,览海控股(集团)有限公司新增被执行、失信被执行案件,执行标的约783.17万元

2023年1月5日,览海控股(集团)有限公司新增被执行案件,执行标的约2.06亿元

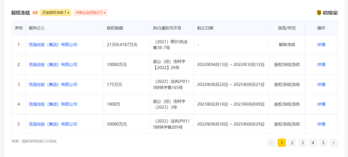
除此之外,览海控股所持有的相关股权也遭冻结。

数据显示,上海览海投资有限公司由览海控股(集团)有限公司100%持股,最终实控人为密春雷。览海控股(集团)有限公司成立于2003年,注册资本达65亿元,密春雷为公司法定代表人、执行董事,持股占比为91.38%。(杭州广播电视台)

加载中...