新浪新闻 社会

曾因涨价被北大停用的中国知网,栽在了一群老教授手上

澎湃新闻

关注

原标题:曾因涨价被北大停用的中国知网,栽在了一群老教授手上

雷达财经出品 文|吴艳蕊 编|深海

曾因频繁涨价被北京大学图书馆、武汉理工大学图书馆抵制的中国知网,栽在了中南财经政法大学89岁的退休教授赵德馨的手上。

“我自己下载还要付费,我本人却从没拿到过一分钱稿费。”因中国知网擅自收录赵德馨教授100多篇论文,赵德馨通过诉讼方式维权,累计赔偿70多万。

除了赵德馨教授,中南财经政法大学苏少之、周秀鸾教授同样对中国知网侵权行为进行了起诉。

雷达财经梳理发现,作为中国知网运营主体《中国学术期刊(光盘版)》电子杂志社有限公司代为行使电子杂志社的管理权和经营决策权一方,同方知网(北京)技术有限公司(下称“同方知网”)今年上半年营收接近5亿,毛利润超过50%。

多位大学教授起诉中国知网侵权

“把我100多篇文章收录(到)数据库,还通过电脑、手机这些端口来传播,不仅不告诉我,读者包括我自己下载还要付费,我本人却从没拿到过一分钱稿费。”谈及维权,赵德馨教授很气愤。

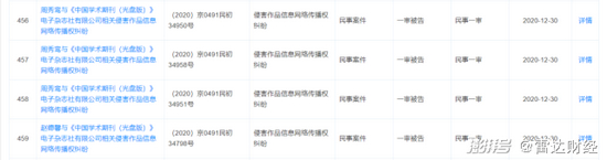
雷达财经在中国裁判文书网中搜索“赵德馨+知网”,检索出147条信息。

公开资料显示,赵德馨曾任中南财经政法大学经济史研究所所长,学位委员会副主任,并担任中国经济史学会常务理事、湖北省中国经济史学会会长等10多个全国和湖北的学术团体的理事或常务理事。1986年被聘为湖北省地方志编纂委员会学术顾问,《湖北省志》副总纂。1998年被聘为湖北省文史馆馆员。

赵德馨主要代表作包括:《中国近代国民经济史讲义》、《中华人民共和国经济史》(1949-1991);《中华人民共和国经济专题大事记》(1949-1991);《中国经济史辞典》等。另有经济学、历史学、方志学论文100余篇。

“为什么我创造的知识成果得不到尊重?”在发现自己著作权被侵犯后,2020年8月,老人选择了维权,并发起了多个诉讼。

其中,2021年8月30日公布的案号为(2021)京0491民初26080号民事判决书显示,赵德鑫主张,其于2010年在《中南财经政法大学学报》发表的《中国市场经济的由来——市场关系发展的三个阶段》一文被中国知网收录,中国知网运营主体《中国学术期刊(光盘版)》电子杂志社有限公司侵害著作权。

中国知网主张其作为期刊出版单位,有权对已经在其他期刊刊登的文章进行转载,属于法定许可,不构成侵权。而法院认为,中国知网将涉案作品收录到其数据库并在网络上提供付费浏览和下载的行为,显然不属于期刊之间的转载或摘编行为,我国著作权法第三十三条第二款规定的报刊转载法定许可制度并不适用于网络环境下,故对被告中国知网辩称其构成法定许可的主张,法院不予支持。

同时,被告主张其系经过涉案作品所载的期刊出版发行方授权使用,但未提交证据证明作者曾向刊文单位进行信息网络传播权授权,故关于被告发布涉案文章有合法来源的主张,法院不予采信。

最终,法院判决《中国学术期刊(光盘版)》电子杂志社有限公司赔偿原告赵德馨经济损失1800元、维权合理开支532.5元,以上共计2332.5元。

截至目前,赵德馨累计已获赔70多万元。

雷达财经注意到,目前中国知网已经下架了此前收录的赵德馨教授的所有文章,在中国知网检索系统中输入“赵德馨”显示结果为0。

“赵德馨教授的胜诉,既是为广大作者讨说法,也会影响有关期刊数据库的商业流程,使他们更加重视对知识产权的保护。”中国人民大学法学院教授万勇表示,很少有学者这样去维权,为赵德馨教授的行为“点赞”。

赵德馨教授的代理律师介绍,老人的学生、中南财经政法大学退休教授苏少之后来以同样的方式打起了维权官司并胜诉。

在天眼查的资料中,也能查到苏少之教授与中国知网的侵害作品信息网络传播权纠纷案件。

此外,中南财经政法大学教授周秀鸾也拿起了法律武器。百度百科显示,周秀鸾是“新中国第一代女经济史学家”的杰出代表,《张之洞全集》主要点校人之一。1928年生,福建厦门人。

曾因涨价被北大等高校抵制

天眼查资料显示,《中国学术期刊(光盘版)》电子杂志社有限公司成立日期为1997年12月11日,实缴资本3000万人民币。公司疑似实际控制人为清华大学。

公司法定代表人为王明亮。据公开资料显示,王明亮生于1956年4月,清华大学物理系理论物理学研究生学历,中国学术期刊(光盘版)电子杂志社执行社长。

根据中国知网官网资料,1999年3月,以全面打通知识生产、传播、扩散与利用各环节信息通道,打造支持全国各行业知识创新、学习和应用的交流合作平台为总目标,王明亮提出建设中国知识基础设施工程(China National Knowledge Infrastructure,CNKI)。

起初,上市公司同方股份出资3000万元成立中国学术期刊(光盘版)电子杂志社。2013年末,公司董事会决议,向清华控股转让中国学术期刊(光盘版)电子杂志社的全部出资权益。为保证电子杂志社的持续稳定经营,董事会同意在本次转让完成后,公司与清华控股有限公司签署委托经营协议,受托经营电子杂志社。彼时,王明亮担任同方股份副总裁。

2014年,该转让完成。此后,同方股份旗下同方知网代为行使电子杂志社的管理权和经营决策权。

在运营过程中,中国知网因屡次涨价遭到高校抵制。武汉理工大学图书馆称,2000年以来CNKI公司对该校的报价,每年价格涨幅都超过10%,特别是2012年涨幅高达24.36%,从2010年到2016年的报价涨幅为132.86%,年平均涨幅为18.98%。

在山东、云南、湖北、安徽、河北等地,很多高校都出现过停用知网又再次重启的情况。其中,影响最大的是2016年3月,北京大学官网上贴出因中国知网涨价而停用的通知,引发了中国知网垄断的质疑。

雷达财经根据通过股份财报查询发现,同方知网连续多年毛利率超过50%。

在中国知网的案由统计中,著作权权属、侵权纠纷,侵害作品信息网络传播权纠纷,侵害其他著作财产权纠纷位列案由前三。

在运营过程中,中国知网曾遭处罚。其中在2018年11月,公司遭北京市文化市场行政执法总队行政处罚。北京市文化市场行政执法总队调查发现,中国知网提供了与百川(利康)医学研究院的合作协议书及网络出版《向导·教育导刊》论文的电子文档,但不能提供该刊合法从事出版活动的证明文件,涉嫌出版、传播非法出版物。执法人员要求该单位认真准备材料,积极配合,做好下一步调查工作,并被处以警告并罚款人民币2000元。

微博网友热议

加载中...