陈思成佟丽娅离婚,陈父陈胜奇成陈思诚资本版图后隐形富豪
界面新闻
原标题:陈思成佟丽娅离婚,陈父陈胜奇成陈思诚资本版图后隐形富豪
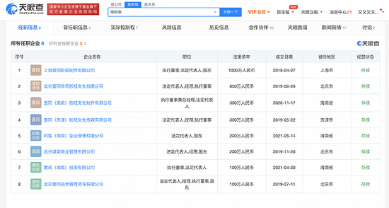
据天眼查APP显示,在陈思成的商业版图里,与他关联最多的是他的父亲陈胜奇,从来不是佟丽娅。陈胜奇关联企业共8家,包括北京壹同视界管理咨询有限公司、上海壹同影视制作有限公司、屿胜(海南)企业管理有限公司、寰屿(海南)投资有限公司等。
在《唐人街探案》(8.23亿)、《唐人街探案2》(33.98亿)大获成功后,2019年6月,由陈胜奇担任法定代表人的北京壹同传奇影视文化有限公司成立,同年《唐人街探案3》开拍,出品方里该公司赫然在列。股东信息显示,北京壹同视界管理咨询有限公司是北京壹同传奇影视文化有限公司的最大股东,前者由陈胜奇和陈思成共同持股,持股比例分别为80%、20%。
受疫情影响,本应在2020年春节档上映的唐探3推迟上映,陈思成顺势试水网剧,推出网剧《唐人街探案》,而由陈胜奇担任法定代表人和最大股东的上海壹同影视制作有限公司就是出品方之一。
责任编辑:武晓东 SN241