新浪新闻 社会

重磅!燕郊的地铁来了!11项招标齐发、四年半建成!

北京青年报

关注

原标题:重磅!燕郊的地铁来了!11项招标齐发、四年半建成!

平谷线(北京地铁22号线)河北三河段来了!

11项招标公告齐发,离正式开建不远了!

总投资超过76亿元,工期1642天(约4年半时间)!

明确了河北三河将建设燕郊镇站、神威大街站、潮白大街站、高楼站、齐心庄站5个站点!

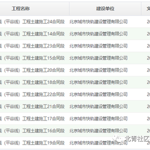
轨道交通22号线(平谷线)工程土建施工

14合同段

本工程的建设规模:政务中心东站(不含)~政燕区间1#明挖风井(不含),共1区间,合同估算价:70136(万元)

本工程招标范围包括政务中心东站(不含)~政燕区间1#明挖风井(不含),共1区间范围内的土建工程、安装工程及其他工作,具体内容详见招标文件。

15合同段

本工程的建设规模:政燕区间1#明挖风井(含)~政燕区间2#明挖风井(不含),共1区间,合同估算价:50757(万元)

本工程招标范围:包括政燕区间1#明挖风井(含)~政燕区间2#明挖风井(不含),共1区间范围内的土建工程、安装工程及其他工作,具体内容详见招标文件。

16合同段

本工程的建设规模:政燕区间2#明挖风井(含)~燕郊镇站区间,燕郊镇站,共1站1区间,合同估算价:56993(万元)

本工程招标范围:政燕区间2#明挖风井(含)~燕郊镇站区间,燕郊镇站,共1站1区间范围内的土建工程、安装工程及其他工作,具体内容详见招标文件。

17合同段

本工程的建设规模:燕郊镇站~神威大街站区间,神威大街站,共1站1区间,合同估算价:81564(万元)

本工程招标范围:燕郊镇站~神威大街站区间,神威大街站,共1站1区间范围内的土建工程、安装工程及其他工作,具体内容详见招标文件。

18合同段

本工程的建设规模:神威大街站~潮白大街站区间,潮白大街站,共1站1区间,合同估算价:53987(万元)

本工程招标范围:神威大街站~潮白大街站区间,潮白大街站,共1站1区间范围内的土建工程、安装工程及其他工作,具体内容详见招标文件。

19合同段

本工程的建设规模:潮白大街站~高楼站区间,共1区间,合同估算价:65057(万元)

本工程招标范围:潮白大街站~高楼站区间,共1区间范围内的土建工程、安装工程及其他工作,具体内容详见招标文件。

20合同段

本工程的建设规模:高楼站,高楼站~齐心庄站(明挖段)区间,共1站1区间,合同估算价:67409(万元)

本工程招标范围:高楼站,高楼站~齐心庄站(明挖段)区间,共1站1区间范围内的土建工程、安装工程及其他工作,具体内容详见招标文件。

21合同段

本工程的建设规模:高楼站~齐心庄站(盾构段)区间,燕郊车辆段出入段线(盾构+明挖),共2区间,合同估算价:59713(万元)

本工程招标范围:高楼站~齐心庄站(盾构段)区间,燕郊车辆段出入段线(盾构+明挖),共2区间范围内的土建工程、安装工程及其他工作,具体内容详见招标文件。

22合同段

本工程的建设规模:高楼站~齐心庄站区间(高架+路基),齐心庄站,齐心庄站~马坊站区间(燕郊段),共1站2区间,合同估算价:88950(万元)

本工程招标范围:高楼站~齐心庄站区间(高架+路基),齐心庄站,齐心庄站~马坊站区间(燕郊段),共1站2区间范围内的土建工程、安装工程及其他工作,具体内容详见招标文件。

23合同段

本工程的建设规模:齐心庄站~马坊站(北京段)区间,马坊站,马昌营站,马昌营站~平谷站(路基+高架+明挖)区间,共2站2区间,合同估算价:77793(万元)

本工程招标范围:包括齐心庄站~马坊站(北京段)区间,马坊站,马昌营站,马昌营站~平谷站(路基+高架+明挖)区间,共2站2区间范围内的土建工程、安装工程及其他工作,具体内容详见招标文件。

24合同段

本工程的建设规模:马昌营站~平谷站(盾构)区间,平谷站,共1站1区间,合同估算价:96712(万元)

本工程招标范围:包括马昌营站~平谷站(盾构)区间,平谷站,共1站1区间范围内的土建工程、安装工程及其他工作,具体内容详见招标文件。

今年3月,三河市政府工作报告中指出,要全力打造“轨道上的三河”。举全市之力确保轨道交通平谷线上半年实现开工建设,同步安排神威北大街、 潮白大街站点及周边 TOD 开发建设;力促京唐城铁年底前完成主体工程,完成燕郊火车站周边创新街区一体化设计。

责任编辑:朱学森 SN240

加载中...