《合成大西瓜》现“骗局”,或已超166万人被坑
中国新闻网
原标题:《合成大西瓜》现“骗局”,或已超166万人被坑
中新网客户端北京2月7日电(记者吴涛)近日,微伞游戏一款《合成大西瓜》游戏爆红,接连登上微博热搜,可是很多网友反映,最近因玩这个游戏被骗19.9元,投诉无门,或已涉及人数超166万人,涉及金额超3000万元。
《合成大西瓜》游戏页面右上角出现“礼物”图标。截图
“中奖”容易退款难
中新网记者体验发现,从微伞游戏官网进入到《合成大西瓜》游戏后,页面右上角会出现“礼物”图标,点进去以后就看到抽奖大转盘,每次点击后几乎都会显示中奖“100元手机话费券”,再点击后提示需要支付19.9元,而且显示“领不到话费,全额退款。”
很多网友走到这一步,想想19.9元换100元话费也值得,于是便支付了。而当用户支付后,页面则弹出让你下载“全球公爵黑卡”APP,去“全球公爵黑卡”APP领取话费。
但在黑猫投诉上,很多网友反映,根本就没有话费,退款也遇到阻碍,申请退款迟迟收不到退款,“在公众号申请客服也没有回应。”
相关页面显示超166万人已领取。截图
中新网记者注意到,其相关页面显示超166万人已领取所谓的“手机话费券”,这样算下来,每个人支付19.9元,涉及的总金额已超3000万元。
营造“紧张”气氛,层层“诱导”
记者体验时发现,整个流程的各个环节营造了一种“紧张”的气氛。例如,抽奖大转盘显示“只有7次机会”,“支付时会弹出倒计时,仅有2分多钟的支付时间。”
实际上,记者体验了多次,这种“中奖”几乎是必中;支付“倒计时”结束后仍然可以支付;只有在最后支付时,才标注“19.9元其实是会员费”,等等。
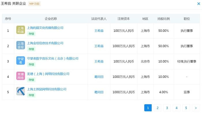
值得注意的是,收款方竟然有好几家公司,有时显示为“上海金纽信息”,有时显示为“一步到家”。
图片来源:企查查截图
据企查查显示,实际上,这几家公司有着千丝万缕的联系。上海金纽信息技术有限公司的法定代表人和实际控制人为王希淼。王希淼的多个关联公司中,上海土拨鼠网络科技有限公司等企业的法定代表人为葛同田,而葛同田正是上海一步到家科技有限公司的实际控制人和最终受益人。
目前微伞游戏所属公司北京米兜科技有限公司和上述收款公司的关联并不明朗。
也许有人认为这是广告,但是根据《互联网广告管理暂行办法》,互联网广告应当具有可识别性,显著标明“广告”,使消费者能够辨明其为广告。而《合成大西瓜》并未标注“广告”,“礼物”图标也在游戏页面右上角最显眼的位置,很容易让众多玩家理解成是游戏方自己的“礼物”。
退款时再收集用户隐私信息
值得注意的是,一般情况的退款会原路返回,但上述退款却要求用户输入真实姓名、支付宝账号等各种隐私信息,哪怕你是用微信支付的。
申请退款并未原路退回,被要求填写真实姓名,支付宝账号等个人隐私信息。截图
退款不是你想退就能退。在黑猫投诉上,1月份、2月份,大量网友在投诉上海金纽信息技术有限公司以及“全球公爵黑卡”,几乎都是被骗19.9元的事情。
而且该骗局不仅仅牵扯到《合成大西瓜》,有网友称,在其他APP上,也有大量的类似套路。
黑猫投诉平台截图。
记者试着联系微伞游戏官网公布的客服QQ号,截至发稿时,好友申请未通过。最后记者通过其他渠道辗转联系到收款企业上海金纽信息技术有限公司,所支付的19.9元才得以退还。而对于为什么退款要输入姓名、支付宝账号等信息,上述企业并未回复。
在此提醒消费者,如果遭遇上述退款难,通过官网、公众号等渠道无法退款时,可试着直接联系收款企业。另外,支付过上述“会员费”的网友最好去微信支付“扣费服务”里面检查是否开通了自动扣费服务。
据微伞游戏官网显示,目前,《合成大西瓜》玩家近8000万。你玩了吗?有没有遭遇上述问题