看完老干妈的商标护城河,我已经不识字了
澎湃新闻
原标题:看完老干妈的商标护城河,我已经不识字了
澎湃新闻记者 张轶君 张婧冉
6月30日曝光的一份腾讯和老干妈民事裁定书,将二者频频推上热搜,其中不少网友开始热议老干妈的“商标族谱”,但这位无价之姐绝不是此类防御战术的唯一实践者。澎湃美数课在去年9月发表的这篇文章,就分析了这看似幽默的商标护城河背后真金白银的法律较量。
曾有人在知乎上提问:“阿里巴巴和小米,都注册了哪些奇葩的商标?”不少答案,都提及阿里公司凑齐了“全家福”,注册了“阿里爷爷”、“阿里妈妈”、“阿里弟弟”;而小米也好似开起了粮油店,注册过的商标里不仅有“玉米”、“大麦”、“小麦”,“蓝米”、“橙米”、“绿米”等各种颜色的米也被其注册一空。
知名企业筑起“商标护城河”
除了阿里巴巴和小米,从现今不少知名公司的商标注册情况上,都可以看到这种现象。
以知名辣椒酱品牌“老干妈”为例,“老干妈”公司曾注册过192个商标,围绕核心品牌“老干妈”修筑了一条商标护城河。许多衍生词如“老幹妈”、“老干爹”、“老姨妈”等,都已被“老干妈”公司申请为商标。然而,仍然有不少其他公司也在抢注商标,看上去似乎是想尽力地靠拢“老干妈”这块招牌。
这些看上去令人发笑的情况,背后却牵扯到真金白银的法律较量。
大公司对商标保护的重视,在现实中仍被屡屡挑战。如“老干妈”公司和不少其他主业为做辣椒酱的公司,存在过在商标上的法律纷争。
举例来说,2009年,南京阿庆嫂公司曾向商标局申请注册“老大妈”商标。2012年3月,老干妈公司向商标局提出近似商标申请,商标局驳回了老干妈的申请,对争议商标“老大妈”予以核准注册。于是老干妈公司展开了多年的上诉,几番波折后,案件被上诉到北京市高级人民法院。
“老干妈”和“老大妈”的商标对比 / 图片来源:上海知识产权研究所
2016年,北京市高级人民法院做出终审判决,阿庆嫂公司申请注册的“老大妈”商标,构成对老干妈公司持有的驰名商标“老干妈及陶华碧头像”与“老干妈”的摹仿;在腌制蔬菜、花生酱等其他指定使用商品上的注册申请不予核准。
从2012到2016年,“干妈”大战“大妈”的戏码,持续了4年。
谁在注册商标?谁能注册商标?
近期,知名B站UP主“敬汉卿”发布视频称,自己使用22年的名字“敬汉卿”,已被一家公司抢注为商标,对方要求他立即停止使用此名在各大平台发布作品,否则将采取法律措施。
敬汉卿的遭遇,遭到了公众对“商标抢注”的讨论。
在我国,商标注册人所申请的商标,只要能够通过国家知识产权局商标局的审核,就可以享有商标的使用权。
抢注“敬汉卿”一名的,是一个叫做“镜湖区知桥电子产品销售部”的个体工商户,其公司地址位于安徽省芜湖市,注册资本仅为20元。然而这样一个个体工商户,却申请注册了上百个商标。
这家公司的行为并非孤例。澎湃新闻发现,在去年申请商标最多的前100实体中,只有少部分是腾讯、百度这样的大型企业;大部分的申请实体,都是注册资本小于100万元的公司,这些公司的注册时间很多不到两年,且“批发业”是这些公司的主要行业。
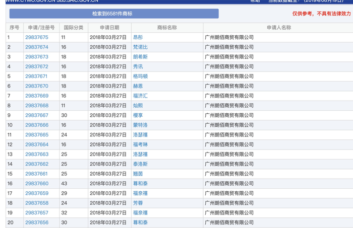
2018年商标申请量最多的公司是腾讯公司,第二名的是一个叫做“广州朗佰商贸有限公司”的批发业企业。该公司在2018年这一年内申请了6000多个商标。这让人不禁疑惑:这些公司和个体户,需要这么多商标做什么?
申请注册商标是有成本的,按照商标局所规定的受理商标注册费来算,一个商标的受理费用要300元(纸质申请),以上述的“广州朗佰商贸有限公司”为例,该公司在2018年申请了6506个商标,商标申请的时间集中在1月和3月的特定几日。其在商标上的花费就至少接近200万元,甚至超过了该公司注册资本100万人民币。
广州市工商行政管理局曾在2018年,抽查过该公司是否存在商标违法行为。然而在该公司的商标使用、代理、印刷方面,广州市工商行政管理局最终未认定存在问题。
澎湃新闻就上述现象,采访了北京市京师律师事务所的王辉律师,他表示:非常小的公司、也可能会申请注册上千个商标,公司注册商标的上限是没有规定的。理论上,商标和商品紧密相关,贴在商品上的商标,能标明商品的信誉。而实际上,这些注册资本很小的企业可能根本没有这么多的商品需要商标,因此这些公司申请了大量的商标,可能是为了产生收益。
拥有商标并转让可能得到怎样的回报?有一个例子可以参考。
2015年10月份,河南商人余春永,因当时电视剧《花千骨》热播,看到电视剧里面有个新词“洪荒之力”,于是花了1300元申请了“洪荒之力”商标;由于奥运会时游泳选手傅园慧受访时,带火了“洪荒之力”一词。最终余春永以100万元的价格,将“洪荒之力”商标转让了出去。
虽然未有报道显示余春永在刻意囤积该商标,而是他不经意间就促成了一桩生意,但这样的生意,在并未有法条禁止商标囤积且转让的前提下,客观上促进了商标囤积现象的加剧。
数据显示:“商标投资公司”高管法人扎堆
在注册金额小于100万的公司里,还存在高管和法人扎堆的现象。根据天眼查企业信息数据库,勾画出他们的人际网络,可以看出其中有一些公司组成了几大“商标投资集团”。
在这个网络中,拥有最多公司法人身份的,是“广州朗佰商贸有限公司”的监事谢颖贤。他所担当高管的14家公司2018年一年内申请商标的总和,高达25921个;甚至超过了腾讯、阿里两家巨头一年的商标申请量,后两者分别是6830、3421个。
这些囤积的商标名有何特征呢?申请记录显示,这些公司申请的大部分名称没有太强关联性。
“广州朗佰商贸有限公司”申请过的部分商标 / 图片来源:国家商标局商标综合检索系统
大量囤积商标,如何界定是否“越界”呢?
王辉律师告诉澎湃新闻:如果商标侵权方恶意比较明显,有囤积商标以盈利的可能,那么作为商标侵权的一方,在司法案件中败诉的可能性会很大。如敬汉卿一案,如果敬汉卿一方能够证明对方没有在商品上使用“敬汉卿”这一商标的必要,那么据此证明对方存在恶意并胜诉,是完全有可能的。
华东政法大学*汤韬的硕士论文中,统计了100例商标恶意抢注的案件。这100例案件均为大量涉及恶意抢注商标、均已做出终审判决的行政案件。法院最终认定构成“恶意”抢注的案件达86起,不具有“恶意”的案件共14起。以其中一起判定为“恶意”的案件为例,法院在判决时主要认为,侵权公司“以不正当手段抢先注册他人已经使用并有一定影响的商标”。
囤积商标进行交易的空间正在收窄
囤积商标进而进行转让在前几年可能是个好生意,但在近两年,囤积且转让的空间正在收窄。
2019年2月12日,国家商标局就《关于规范商标申请注册行为的若干规定》公开征求意见,该规定明确强调,应根据生产经营活动中的实际需要,申请商标注册。短时间内大量申请商标注册,明显超过合理限度,会被视为“非正常申请注册商标”。
4月23日,全国人民代表大会常务委员会第十次会议通过了对《中华人民共和国商标法》部分条款修改的决定,新增了条款“不以使用为目的的恶意商标注册申请,应当予以驳回”。该修改条款自今年11月1日起施行。
对申请注册大量商标的限制,在近两年的商标申请成功率上就已经有所体现。观察2017年与2018年商标申请量前十的公司,2017年前十公司的申请成功率,远高于2018年。
2018年申请成功率低,有很大一部分因素在于这些公司的商标申请流程还在进行中;但除了阿里、腾讯这样的大公司以外,有好几家属于上述疑似“商标投资集团”的公司,在2018年申请的商标到目前为止一个都未注册成功。上文中的谢颖贤,他所在公司在2018年的25921个商标申请,其中17157个都未能申请成功,其他的申请大部分尚在审核中。庞大的申请费,可能“竹篮打水一场空”。
针对这种情况,知识产权媒体IPRdaily在其公号文章中总结到:商标囤积转让,未来是否还是一棵摇钱树、或是一只黑天鹅,待需未来市场检验。
7月,国方商标软件发布了2019年上半年全国申请商标前100的公司名单,榜单显示,相比2018年,注册资本较小的批发业公司大多不见踪影;取而代之的是各类制造业、实体产业公司。前十的公司包括华为、腾讯、百度、阿里、京东、字节跳动六家科技大公司,也包括伊利这样的食品业公司。
责任编辑:郑亚鹏 SN238