美甲店老板,竟2个月内当上“国企老总”
中国新闻网
美甲店老板,竟2个月内当上“国企老总”
中新网北京7月26日电(钟兴真) 近日,中新财经报道了中冶吉信健康产业有限责任公司(简称“中冶吉信”)和其大股东康和信(大连市)健康医疗管理有限责任公司(简称“康和信”)疑似为“假国企”一事。
随后,记者接到举报,康和信的法定代表人、董事长兼总经理陈颖还个人投资开有公司,在多家私企任职。若康和信真是国企,“国企”老总可以个人开公司并出任老板吗?此举是否合法合规?
疑似“假国企”老总的私人生意
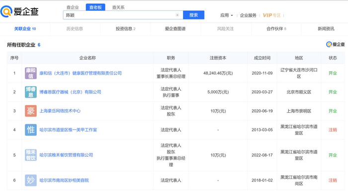
国家企业信用信息公示系统显示,康和信的法定代表人、董事长兼总经理均为陈颖。但企业信息查询平台显示,陈颖同时还在其他企业任职。
爱企查显示,陈颖的“所有任职企业”为6家。除康和信外,陈颖还在博睿恩医疗器械(北京)有限公司、上海豪岳网络技术中心、哈尔滨稚禾餐饮管理有限公司等公司任职。
爱企查截图
其中,博睿恩医疗器械(北京)有限公司为康和信持股99%的企业。陈颖任博睿恩医疗器械(北京)有限公司法定代表人。而上海豪岳网络技术中心、哈尔滨稚禾餐饮管理有限公司均为个人或自然人独资企业。
记者在国家企业信用信息公示系统查询到,上海豪岳网络技术中心为个人独资企业,投资人为陈颖,出资方式为“以个人财产出资”,出资额10万元人民币,于2020年6月19日成立。其2022年度报告显示,该公司参保人数仅1人。
国家企业信用信息公示系统截图
哈尔滨稚禾餐饮管理有限公司为有限责任公司(自然人独资),法定代表人为陈颖,注册资本10万元人民币,于2022年8月17日成立。同时,陈颖还在该公司任执行董事兼总经理。
国家企业信用信息公示系统截图
值得注意的是,天眼查显示,有3家公司与哈尔滨稚禾餐饮管理有限公司共用同一个企业电话。这3家企业为哈尔滨市南岗区妙相美容院、哈尔滨市道里区优米摄影工作室与哈尔滨市道里区惟一美甲工作室。
天眼查截图
其中,哈尔滨市南岗区妙相美容院、哈尔滨市道里区惟一美甲工作室分别于2021年9月7日、2021年8月5日注销,两家店的经营者均为陈颖。目前,哈尔滨市道里区优米摄影工作室目前仍存续,为个体工商户,经营者为金哲成。
国家企业信用信息公示系统截图
美甲店老板,变身“国企”老总
梳理上述信息,2021年8月,陈颖注销了其在哈尔滨开了8年多的美甲店;这一年9月7日,又注销了开了3年多的美容院。
国家企业信用信息公示系统截图
巧合的是,就在注销这两家公司后,2021年9月28日,康和信(大连市)健康医疗管理有限责任公司发生多次企业信息变更,陈颖成为康和信的法定代表人、董事长兼总经理。
国家企业信用信息公示系统截图
不过,陈颖在任职康和信法定代表人、董事长兼总经理前,也并未清空其任职的公司。由陈颖投资、2020年已成立的上海豪岳网络技术中心,一直存续至今。
这意味着,陈颖在已拥有个人独资企业的情况下,仍于2021年成为了“国企”康和信的高管。
而此后陈颖也并未放弃自己开公司的想法,企业信息查询平台显示,在任职康和信近一年后,陈颖个人投资的哈尔滨稚禾餐饮管理有限公司于2022年8月17日成立,陈颖出任法定代表人、执行董事兼总经理。
国家企业信用信息公示系统截图
值得一提的是,记者还发现,哈尔滨稚禾餐饮管理有限公司的财务负责人为金哲成;而与该餐饮管理公司共用同一企业电话的哈尔滨市道里区优米摄影工作室,经营者也是金哲成。
中冶吉信董事长付列武亦在私企任职
此外,记者还在天眼查等企业信息查询平台注意到,康和信持股99.58%的中冶吉信法定代表人、董事长付列武也在私企任职。
天眼查截图
国家企业信用信息公示系统显示,一家名为金牛区赋工坊工艺品店的个体工商户经营者为付列武。
这家工艺品店2016年3月18日注册,存续至今。而在中冶吉信,付列武于2020年9月30日出任法定代表人、董事长兼总经理;付列武还曾多次出任康和信高管。
国家企业信用信息公示系统截图
“国企”老总,能否兼任私企老板?
这种“国企”老总同时出任私企老板的行为是否合法合规?北京岳成律师事务所高级合伙人岳屾山对中新财经表示,《国有企业领导人员廉洁从业若干规定》对此类情况有明确限制。
其中,2009年施行的《国有企业领导人员廉洁从业若干规定》第五条明确,国有企业领导人员应当忠实履行职责,不得个人从事营利性经营活动和有偿中介活动,或者在本企业的同类经营企业、关联企业和与本企业有业务关系的企业投资入股;不得未经批准兼任本企业所出资企业或者其他企业、事业单位、社会团体、中介机构的领导职务,或者经批准兼职的,擅自领取薪酬及其他收入。
《规定》第二十六条明确,国有企业领导班子成员以外的对国有资产负有经营管理责任的其他人员、国有企业所属事业单位的领导人员参照本规定执行。国有参股企业(含国有参股金融企业)中对国有资产负有经营管理责任的人员参照本规定执行。
显然,如果康和信真的是吉林省财政厅代表吉林省政府持股97.496%的吉林省信托控股的企业,康和信的法定代表人、董事长兼总经理陈颖等人应遵守上述规定。
背后的重重疑点
不过,中新财经记者在吉林信托官网披露的组织架构中并未找到康和信这一子公司。中新财经曾致电吉林信托询问康和信是否属于其子公司,接线工作人员表示,并没有听说过有康和信这一子公司。康和信是否真是吉林信托控股的“国有企业”?截至发稿时,吉林信托官方始终未对此作出正式公开回应。
需要说明的是,不论是国家企业信用信息公示系统,还是天眼查等企业信息查询平台,均注明股东及出资信息“由该企业提供,企业对其报送信息的真实性、合法性负责”。
国家企业信用信息公示系统截图
天眼查截图
此外,记者还发现,中冶吉信曾参与设置医院。
2020年11月24日,河北省卫生健康委批复设置中国医学科学院肿瘤医院河北医院,同意中国医学科学院肿瘤医院、中冶吉信健康产业有限责任公司共同设置中国医学科学院肿瘤医院河北医院,设置医院的级别类别为三级专科医院,经营性质为非政府办非营利性,服务对象为社会。
网页截图
如果中冶吉信当真为“国企”,又是如何与一家公立医院共同设置一家“非政府办”医院的?
这背后究竟是“国企”领导违规开办私企,还是企业假冒国企?康和信和其子公司中冶吉信的背后还有多少秘密?公众在等待真相,也欢迎广大网友提供更多举报线索。
中新财经将持续关注假央企、假国企现象,相关报道线索,请发送至邮箱:finance@chinanews.com.cn,联系电话:010-87826688。
【媒体评论】
光明时评:内外兼治 根除假冒国企乱象
7月20日,中国新闻网对中冶吉信健康产业有限责任公司及康和信健康医疗管理有限责任公司疑似“假国企”的调查报道,在网络上引起热评,也再度引发社会对冒充国企问题的关注。
冒充国企问题由来已久。国务院国资委自2021年起连续三年先后发布三批共计823家“假央企”名单。今年6月以来,国铁集团、国家电投、中信集团等企业相继发表声明,指出有非法分子冒用其子公司名义设立公司,提醒广大投资者注意甄别,防止受骗。
个别企业通过挂靠、伪造工商资料等手段,违规借用、套用和冒用“央企”“国企”的名称,披上央企或其下属子公司的外衣,以获得地方政府或金融机构的信任,从而在企业融资、项目土地、投资合作等领域获取便利和资源的现象屡有发生。“假国企”在市场上大行其道的同时,时常出现违约行为。违约行为产生后,背后的“真国企”才发布声明进行澄清,企业形象与信誉大打折扣,令地方政府、金融机构和其他合作者、投资者苦不堪言。
“假国企”不仅让“真国企”背了许多问题黑锅,也严重扰乱了市场秩序。“假国企”被发现,结果往往导致合约项目无法推进,由此造成的风险难以估量:非法集资导致民众财产损失,企业大量投入之后可能血本无归......这些风险甚至还会传导至资本市场,扰乱金融秩序,影响社会经济的持续健康发展。
冒充国企这样的市场乱象,不仅破坏了市场秩序,更触碰了法律红线,不容任由其泛滥,必须予以坚决打击,全社会共讨之,需要国资系统、市场监管和公安执法等部门联手打出“组合拳”。例如:各部门需建立常态化联动处理机制,采取更及时有力的措施;广大市场主体应提高警惕,注意防范风险,不能盲目追求“国资光环”;央企国企应提高企业透明度,发现被假冒时,应第一时间主动向公众揭露;在公司法层面,要健全公司登记制度,包括公司设立登记、公司变更登记和公司注销登记,打破假国企难以被彻查的魔咒。
此外,要想彻底清除国企“李鬼”滋生的内生土壤,需要进一步促进市场公平竞争,赋予各类企业真正同等的地位,确保各类企业权利平等、机会平等、规则平等。各级部门还应该加大对民企的支持,为民企发展“保驾护航”,如果民企也能像国企一样成为“座上宾”,那么冒充国企的冲动就会大大减少。(光明日报客户端 杨淳)