新浪新闻

无法升级鸿蒙系统涉虚假宣传 赛力斯华为智选SF5变相停产、名存实亡

中国网汽车

关注

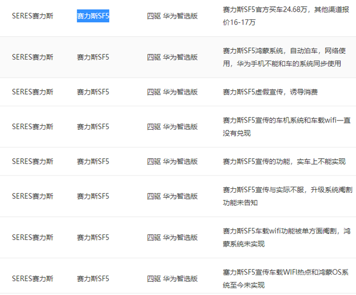
中国网汽车3月28日讯(记者 李池)中国网汽车质量平台近日接到大量赛力斯华为智选SF5车型车主的投诉,问题主要集中于车辆无法升级到鸿蒙OS系统、车载WIFI功能缺失,赛力斯因此涉嫌虚假宣传、误导消费者。

冲“华为”而来 赛力斯SF5却无法升级成鸿蒙系统

在2021年上海车展上,华为联合小康股份旗下赛力斯汽车推出了赛力斯华为智选SF5车型,售价21.68万-24.68万元,SF5成为首个华为智选生态汽车产品,在华为线上、线下渠道同时销售。

正是冲着“华为”的招牌而来,重庆的王先生于去年9月份在华为某手机店订购了一台赛力斯华为智选SF5。其进一步表示:其实90%的车主都是冲着华为去的,结果把车主们都“搞心寒”了。无独有偶,另外一位车主余先生同样是在华为深圳万象天地旗舰店购买的赛力斯SF5。

令所有车主大失所望的是,赛力斯厂家官方APP和宣传单页上所体现的“华为将鸿蒙OS系统等技术赋能赛力斯SF5”、“车辆搭载车载Wi-Fi和HUAWEI HiCar”,最终却都未能兑现。“有华为做靠山,升级鸿蒙系统不是很简单的一件事情嘛,当时潜意识就是这么认为的。但是后面他们全部都改口,全部都不承认了。”王先生十分后悔当初的选择。

中国网汽车频道旗下《小马说车》栏目随后也联系到了深圳华为旗舰店万象天地店的工作人员,对方却给出了另一番答复:“我们没有说是鸿蒙系统,它叫HiCar,是华为车载互联。其实,日常的一些导航、音乐都是完全OK的。”但车主向中国网记者解释道,所谓的华为HiCar使用很不方便,有时候车机非常卡顿,并不是真正的鸿蒙系统。通过查看车主与赛力斯客服、销售人员的聊天记录,记者发现彼时后者承诺过华为智选SF5是可以升级成鸿蒙OS系统。车主还向记者爆料,赛力斯官方曾用了两天时间对赛力斯APP进行了重大“更新”,将有关鸿蒙的宣传资料全部删除。除无法升级鸿蒙系统外,华为智选SF5又被爆出车载Wi-Fi热点功能丢失。

赛力斯华为智选SF5变相停产 车价迅速贬值

在中国网汽车质量投诉平台上,赛力斯华为智选SF5还涉及诸如“实际油耗过高”、“续航虚标”、“车机卡顿”等投诉。实际上,尽管有华为加持,赛力斯依旧没能扭转销售颓势。2021年1-11月,赛力斯SF5总销量也仅为7080辆。且据小康股份公告显示,公司2021年亏损额约为15.5亿元-19.5亿元,扣非净利润预计亏损25.1亿元-29.1亿元。

为摆脱困境, 2021年12月华为联手赛力斯发布了全新高端品牌AITO的首款车型——问界M5。而后,华为智选SF5一夜间全部“消失”。同时,线下赛力斯门店全部改换成AITO Logo。短短一年时间不到,华为智选SF5就接近于变相停产。面对停产风波,记者从赛力斯方面获得的回复是:SF5没有停产,因为问界M5上市,SF5销量变少了,后续是以销定产,将会继续接受用户订单。

在车主集体投诉之下,华为随后又上线了SF5,但根本无人购买。记者在华为官方商城通过搜索“赛力斯”,前几条出现的都是AITO问界M5车型的“立即选购”标签,赛力斯SF5只是提供了一条0元预约试驾标签,并不接受网上选购。“赛力斯纯属就是为了忽悠我们,还声称只是暂时给问界M5让生产线,纯粹是为了敷衍而做的事情。” 有车主直言。

相较于赛力斯SF5,问界M5采用了华为 DriveONE 纯电驱增程平台以及全新HarmonyOS 智能座舱,赛力斯SF5的不足在问界M5车型身上基本全面得到解决,老车主成为“牺牲品”。有业内人士表示,华为深度参与了问界M5研发制造,赛力斯沦为代工厂,SF5已名存实亡。

一系列“骚操作”之后,导致赛力斯SF5短时间内就迅速贬值。有车主发现,问界M5发布后,厂家开始对赛力斯SF5进行清库存,展车和试驾车都被当做二手车“处理”,原来24-25万的车,全部以16-17万的价格促销甩卖。“这给我们车主带来了多大的损失和伤害?现在二手市场15万有没有人要,都是一个问号。”上述车主王先生说道。

迫于车主们集体投诉厂家涉虚假宣传、清库存割韭菜引发的舆论压力,官方随后发布了《给赛力斯SF5用户的一封信》,其中承诺赛力斯SF5全系首任车主,除了享有三电系统8年/16万公里质保之外,还将额外升级享有整车和增程器的终身质保。首任车主如果四年内换购公司旗下其他型号的车辆,还可以获得1万元优惠。

然而,这样的“补偿”似乎远无法获得车主的认可,其中提供的整车终身质保并不包括三电系统。一旦出现“三电”故障,王先生认为后面的维修将相当“麻烦”。经此一事,其表示:“华为手机也绝对不会再买,一辈子都不买了。”

( 编辑:王芳 )

加载中...