误操作支付672元想要退款却被拒绝 企查查回应
上游新闻
原标题:追踪|企查查拿出VIP会员使用记录截图 用户认为不够详细无法信服
4月2日,上游新闻曝光台以《误操作支付672元 想要退款却被拒绝 消费者直呼“企查查”人工服务没得人情味》为题,报道了苏先生向企查查申请退还因失误操作购买的会员费用,遭拒绝后苏先生随即提出希望企查查能提供相关使用明细,但人工客服并未及时有效回应。
报道刊发后,企查查相关工作人员立即联系上游新闻记者,并表示若核实苏先生在购买后未使用任何会员查询功能,将立刻办理退款流程。同时该工作人员还对苏先生遭遇人工客服回应态度不及时不积极的情况深表歉意。
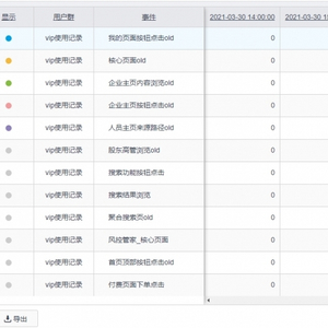
4月13日,苏先生再次收到企查查客服部的邮件回复称,由于成功购买后使用过5次股东高管、1次风控管家的会员查询功能,无法办理退款。记者通过企查查提供的使用记录截图发现,苏先生的会员功能分别使用在当日下午4点和5点。
△ 企查查提供的苏先生VIP使用记录截图。
“这就是我觉得奇怪的地方。”苏先生告诉记者,购买凭证时间显示为3月30日下午4点33分,“为何截图上我的VIP使用记录时间为4点?并且发现扣款后我立即拨打了人工客服电话和联系在线客服,前后不超过10分钟,又怎会在申请退款后于5点再次使用会员查询功能。”
△ 苏先生的VIP会员购买时间。
△ 苏先生与在线客服沟通的时间。
对此,企查查相关工作人员向记者解释,使用记录截图上显示的是时间段,而非整点。“即4点意味着4至5点时间段,5点为5至6点时间段。”该工作人员还表示,对于购买操作,公司技术在多种场景下尝试是否会因误操作导致购买,“整个流程需要至少三步以上的操作且还会跳到第三方支付平台去支付,所以产生误操作的可能性是很小的。”
“但使用记录截图上除了大致时间和次数外,也没有更为详细的时间点和查询明细,如什么公司的哪些风控信息。”坚持在购买后未使用任何查询功能的苏先生再次提出质疑。企查查相关工作人员对此解释称,基于客户隐私,公司无权限保留客户如此详细的浏览查询记录,“所以只能提供大致的使用痕迹。”
对此解释仍有疑惑的苏先生却认为,“如若不能提供详细的使用明细,岂非他们说查了几次就是几次,查了什么名目便是什么名目,这叫人如何信服?”
北京德和衡(重庆)律师事务所律师刘勍认为,如果合同一方认为对方未按约提供服务,负有履行义务一方有义务证明合同已经履行。如果双方对于继续履行不能协商一致的,可以协商解除或者向法院提起诉讼。
上游新闻记者 陈骅/文 受访者供图
上游新闻APP报料。新鲜事、感人事、不平事,欢迎告诉上游新闻。新闻线索一经采用,酌情奖励。
[免责声明]上游新闻客户端未标有“来源:上游新闻-重庆晨报”或“上游新闻LOGO、水印的文字、图片、音频视频等稿件均为转载稿。如转载稿涉及版权等问题,请与上游新闻联系。
责任编辑:乔雷华 SN098