南京金盛百货商场火灾:实控人曾名列胡润零售富豪榜 有商户备货70多万或“打水漂”
每经记者 黄鑫磊 每经编辑 杨夏
10月30日早6:44,据南京消防微博续报称,金盛百货商场现场明火已于凌晨扑灭,火场清理和过火建筑消险等工作有序展开。火灾未造成人员伤亡。起火原因正在进一步调查中。
图片来源:南京消防微博
据悉,金盛百货商场背后股东为金盛置业投资集团有限公司(以下简称“金盛集团”),企查查显示,金盛集团成立于1996年,注册资本为8000万元,由王华持股90%,近年来,金盛集团曾多次被法院列为失信被执行人。
10月30日中午,《每日经济新闻》记者电话从商户处了解到,金盛百货商场中有数百名商户,今日上午部分商户已在当地街道的协调下填了损失单,但目前尚未被允许进入现场收拾自家商铺。有商户称,为“双十一”备货70多万元,如今可能只能“打水漂”了。
10月30日,金盛集团官网发布文章称,火灾发生伊始,金盛集团就责成相关领导牵头,第一时间到达现场,迅速组织各部门人员成立10.29专项工作组,本着人员生命安全第一的原则,快速疏散人群,积极开展救援工作。公司会积极主动配合相关部门尽快查明事故原因,严肃处理相关责任人。
10月29日上午10时许, 南京消防通报称,鼓楼区建宁路2号金盛百货商场发生火灾,指挥中心立即调集消防救援力量赶赴现场处置。消防救援力量到场后,第一时间疏散全部人员。目前未发现人员伤亡。灭火救援行动正在进行中。
图片来源:南京消防微博
据悉,此次发生火灾的是金盛百货中央门店,金盛集团官网显示,该店主楼5层,共享大厅2个,自动扶梯18部,拥有独立铺位近千个,主楼涵盖了30个门类、5万余种商品。店内设有家居、旅游、喜庆工艺品广场,婴幼儿用品广场,软居家饰广场,日用百货广场,服饰广场,羽绒服卖场等。
10月30日中午,《每日经济新闻》记者拨通了金盛百货商场内1楼一家名为“福万黛珠宝”的店铺电话,接听电话的王女士表示,她家店铺没有被火烧到,但是被水淹了。
据王女士介绍,她家店铺里放着黄金、银饰、翡翠、琥珀等物品,按照进货价价值300多万元,“之前街道方面还让我们拿货单来(填损失单),但这些都放在柜台里,我们是两手空空出来的,什么也没有,现在又不许我们进去。”
王女士说,她现在只想进去把重要东西收拾出来,再想把剩下的租金讨回来,“未来也不会在这里开店了。”
另有一位不愿具名的店主在电话中告诉记者,金盛百货商场建成时间已久,人流量较差,商铺并不多,2楼有一部分是餐饮门店,其他则是文具、服装等店铺。
该店主介绍,他是外地人,孩子刚出生不久,此前向亲戚朋友借了二三十万元用于备货,原本想着可以借旺季多多销售,如今一把火烧掉了价值70万元左右的货品,而过年就要还钱了。
“街道虽然让我们填了损失单,让我们去找金盛集团,街道主任也说他会尽量督促,但我知道金盛集团资金也紧张,你看我们好多商户跟无头苍蝇似的,有的在路边坐着,也不知道该干嘛。”该店主有些哽咽。
对于上述商户因火灾遭受损失的后续处理情况,记者拨打了鼓楼区委办公室电话,工作人员表示,区里领导此前一天都在现场指挥灭火,下午回来就开会讨论追责、赔偿等问题。
企查查显示,金盛百货商场关联公司南京金盛企业管理有限公司(以下简称“金盛企管”),成立于2007年,法定代表人为张明军,经营范围包括企业管理服务;市场设施租赁、市场管理服务等。
而金盛企管则是金盛集团的全资子公司,据金盛集团官网介绍,后者大股东兼创始人王华现任中国民间商会副会长,中国企业联合会、中国企业家协会副会长,中国商业联合会副会长,中国慈善联合会副会长,南京大学校董。2006年,王华位列胡润零售富豪榜第7名。
图片来源:金盛集团官网
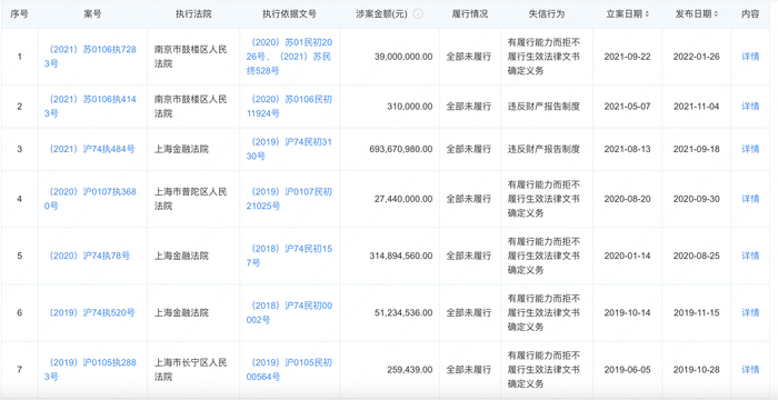
不过,近年来,金盛集团陷入诉讼泥潭,多次被法院列为失信被执行人。王华本人旗下多家公司股权也被冻结,目前已多次被列为失信被执行人,并被限制高消费。
金盛集团曾多次被法院列为失信被执行人。 图片来源:企查查
据扬子晚报报道,深圳平安德成曾向广东高院申请向金盛集团及关联公司、王某等强制偿付19.4亿余元及利息。2021年6月,深圳中院对金盛集团旗下的南京友谊广场进行了诉前财产保全,并于当年8月作出强制拍卖的执行裁定。但该次司法拍卖在今年3月26日因无人报名参加而以流拍告终。
今年1月以来,无锡中院、北京三中院对金盛集团持有的多家公司股权进行拍卖,总评估价达21.2亿余元。其中,北京三中院对金盛集团持有的北京金盛顺鑫置业投资有限公司60%股权的拍卖评估价为13亿余元,最终在二拍时以7.2亿余元成交。
今年4月1日,南京中院于2022年1月13日作出(2021)苏01破申122号决定书,决定对金盛集团及相关联企业启动预重整,管理人表示,四家关联公司债权人可自即日起至4月10日前,可采取线上方式向管理人申报债权。
10月30日,金盛集团官网发布文章称,本次的火情势必会给公司、各门店及各商户造成不可估量的损失,集团10.29专项组将积极协调各部门,开展灾后定责及相关善后工作,与受损商户就防疫及火灾后压力大、运行成本高、承租能力弱等共性问题,制定一系列整改措施,持续与商户交流意见。此外,公司会积极主动配合相关部门尽快查明事故原因,严肃处理相关责任人。
记者当日也致电金盛集团,试图了解受损商户赔偿事宜,公司表示未来几天会给出方案。
封面图片来源:摄图网-500486532