新浪新闻 国内

邓伦偷逃税被处罚并追缴1.06亿元 盘点邓伦资本版图

新浪新闻

关注
听新闻

原标题:盘点邓伦资本版图

来源:中国经济周刊

据新华社,邓伦偷逃税被追缴并罚款1.06亿元。

天眼查App显示,邓伦名下有2家公司,分别为邓伦(上海)影视文化工作室和舟山邓伦影视文化工作室,2家工作室均为邓伦个人独资企业,分别成立于2016年和2018年。

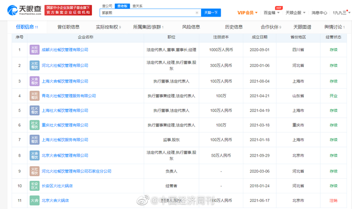
此外,邓伦还和发小们共同创立了火锅品牌“火社火锅”。天眼查App显示,河北火社餐饮管理有限公司成立于2020年1月,法定代表人及执行董事、经理均为郭家熙。不久,该公司投资成立成都火社餐饮管理有限公司。随后,成都火社公司又投资成立重庆社火、上海社火、青岛火社、上海火舍几家公司。2021年9月,同样由郭家熙担任法定代表人的北京火舍餐饮管理有限公司成立。值得一提的,上述火社火锅关联公司和邓伦并无直接关联。

此前报道

邓伦偷逃税被追缴并罚款1.06亿元

近期,根据税收监管中的线索,上海市税务局第四稽查局经税收大数据进一步分析,发现邓伦涉嫌偷逃税款,依法对其开展了全面深入的税务检查。经查,邓伦在2019年至2020年期间,通过虚构业务转换收入性质进行虚假申报,偷逃个人所得税4765.82万元,其他少缴个人所得税1399.32万元。在税务检查过程中,邓伦能够积极配合检查并主动补缴税款4455.03万元,同时主动报告税务机关尚未掌握的涉税违法行为。综合考虑上述情况,上海市税务局第四稽查局依据《中华人民共和国个人所得税法》《中华人民共和国税收征收管理法》《中华人民共和国行政处罚法》等相关法律法规规定,按照《上海市税务行政处罚裁量基准》,对邓伦追缴税款、加收滞纳金并处罚款,共计1.06亿元。其中,对其虚构业务转换收入性质虚假申报偷税但主动自查补缴的4455.03万元,处0.5倍罚款计2227.52万元;对其虚构业务转换收入性质虚假申报偷税但未主动自查补缴的310.79万元,处4倍罚款计1243.16万元。日前,上海市税务局第四稽查局已依法向邓伦送达税务行政处理处罚决定书。上海市税务局第四稽查局有关负责人表示,税务部门将持续加强对文娱领域从业人员的税收监管,并对协助偷逃税款的相关经纪公司及经纪人、中介机构等进行联动检查,依法严肃查处涉税违法行为,不断提升文娱领域从业人员及企业的税法遵从度,进一步营造法治公平的税收环境。(总台央视记者王楠)

加载中...