新浪新闻 国内

起底货拉拉:女用户隐私泄露遭性骚扰,货运网约车岂是法外之地?

中国新闻周刊

关注

原标题:起底货拉拉:女用户隐私泄露遭性骚扰,货运网约车岂是法外之地?

不要等付出惨重代价,才开始行动

17天,货拉拉终于道歉。

2月24日,货拉拉官方就湖南长沙23岁女孩跳车事件,发布了致歉和处理公告。同时货拉拉提到,公司将立即推进整改工作,包括上线强制全程录音功能、严格司机准入制度等。

不得不说的是,如今货拉拉才看到自身的漏洞和隐患,这种安全意识来得太晚了。一个无辜的花季少女付出了生命的惨痛代价,货拉拉及涉事司机也将承担应有的法律责任,还有更多的人也因平台的种种漏洞深受其害。

这一切,为何不能早点避免?货拉拉,究竟是怎样走到今天这一步的?此外,对于涉及人们生命财产安全的货运网约车行业乃至更大层面的监管,还有哪些值得深入反思?

司机被刑拘,货拉拉致歉

近日,湖南长沙23岁女孩通过货拉拉搬家,却在跟车途中跳车身亡一事引起社会高度关注。

“为什么司机要三次偏航?”“为什么要跳窗?”“出事前6分钟还在工作群里发消息,6分钟后突然跳窗,短短的6分钟里到底发生了什么?”事发后,针对女孩跳车身亡事件,其家属提出质问。随着该事件持续发酵,疑惑和猜测越来越多。

长沙警方于2月23日透露,涉事司机因涉嫌过失致人死亡罪,被公安机关依法刑事拘留。

2月24日,涉事平台货拉拉也就此事发布致歉和处理公告。

货拉拉表示,“对事件的发生,平台负有不可推卸的责任,并感到极度自责与愧疚,我们再次对当事人家属致以最诚挚的歉意。”

“于2月23日下午取得家属谅解,并将与家属一起妥善处置善后事宜。”货拉拉称。

目前当事人家属表示,这个事情后面都以官方信息为准,希望回归平静。

真相究竟如何,有待警方调查。

“此次事件如同当头一棒,让我们深刻警醒,”货拉拉指出,平台存在安全预警缺失,“2月8日才从警方得知此事,对此异常事件未能第一时间察觉”;产品安全功能不完善,“在跟车订单的行程录音等问题上存在关键缺失”;跟进速度慢等三个明显问题。

货拉拉创始人兼CEO周胜馥带队成立安全整改小组,倒查订单流程,推进整改工作,包括在跟车订单场景中上线强制全程录音功能;强化已有安全功能,如行程分享、紧急联系人、跟车人安全提示、号码保护等;在跟车场景中加入位置保护功能;严格司机准入制度等等。

值得一提的是,货拉拉类似事情并非首次发生。

陈女士对中国新闻周刊反映,之前通过货拉拉搬家,因穿了一件连衣裙,被司机言语“侮辱”,“当时司机跟我说,女孩子在外面不要穿这么短,还说见过很多社会上的女人,那些出来卖的,基本上都穿这么少。”

刘女士则因为对搬家服务不满,给了司机差评,结果个人隐私被恶意泄露,而惨遭性骚扰。“手机号被司机发到那些群里,发短信还有加我微信的那些人,他们的需求特别恶心。”刘女士对中国新闻周刊说道。她表示,上述事情发生后,曾找过货拉拉投诉,刚开始还被平台客服质疑,并要求她提供证据,当她提供了证据,客服又称发生这样的事,不应该跟他们投诉,应该找警察。

在这一系列事件的背后,可以看到,由于平台的各种漏洞,导致缺乏有效监管正是问题的核心。

不过,很显然,直到这次悲剧发生后,货拉拉才看到平台存在的漏洞和隐患,这种安全意识“姗姗来迟”。

货拉拉为何一路“蒙眼狂奔”?

赢了市场,“输了”口碑

2009年,周胜馥结束长达7年的德州扑克手职业生涯开始创业,四年后,他在香港创办货拉拉,主要从事同城/跨城货运、搬家等业务。2014年,货拉拉进入内地市场。

与传统货运、搬家业务模式不同,货拉拉依托移动互联、大数据等技术,打造了一个同城与跨城货运O2O服务平台,即互联网物流商城。这一次,周胜馥“赌赢了”。

前瞻产业研究院数据显示,我国同城货运市场规模由2014年的8200亿元增至2019年的1.3万亿元。中商产业研究院则预测,到了2021年,我国同城货运市场规模将突破1.5万亿元,市场潜力巨大。

在此行业背景下,货拉拉颇受资本青睐。

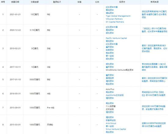
天眼查显示,2015年至2020年,货拉拉连续获得七轮融资,投资方包括清流资本、顺为资本、高瓴资本、红杉资本中国等多家知名投资机构。

2021年1月,又有消息称货拉拉即将完成15亿美元的F轮融资,本次投资由老股东红杉资本中国和高瓴资本领投,博裕资本、老虎基金、Vitruvian维恩资本、D1 Capital等机构跟投。投后货拉拉估值将达到100亿美元。

而这距离货拉拉在2020年底的最新一轮融资,还不到一个月。

去年12月22日,货拉拉宣布完成E轮融资,由红杉资本中国基金领投,高瓴资本、顺为资本等老股东跟投,融资额为5.15亿美元。

在众多资本的加持下,货拉拉在跑马圈地的路上一路狂奔。

去年底融资时,周胜馥表示,本轮融资将用于四五线城市下沉市场的业务拓展,并在多元业务布局和物流数智化方面持续投入。

去年9月,为抢夺市场,货拉拉拿出1亿元补贴司机和用户。

往前追溯,同城货运曾在2015年遭遇“百团大战”,货拉拉依靠清流资本等的两轮融资支撑,从“大战”中突围。

经过数年的快速发展,截至2020年9月,货拉拉业务范围已覆盖352座中国大陆城市,平台月活司机48万,月活用户达720万。

艾媒咨询CEO兼首席分析师张毅对中国新闻周刊表示,货拉拉平台发展太快,但管理又跟不上发展,会存在服务、安全等方面的漏洞,“就跟当年的滴滴一样,存在严重的安全漏洞,如果不加以改进,后续的问题还会很多。”

反思:货运网约车并非法外之地

北京东元律师事务所律师孔磊对中国新闻周刊说到,货拉拉作为平台,为顾客提供货运服务,从而赚取利润。“既然顾客支付了费用,货拉拉应该保障消费者安全。”

中南财经政法大学数字经济研究院执行院长、教授盘和林认为,货拉拉作为平台方,需要协调用户与司机之间的关系,在服务统一性、合规性、正规化方面,需要有价值输出。提供安全的服务更是对平台起码的要求,平台应当承担起必要责任。

尽管货拉拉表示整改,也在积极赔偿,但毫无疑问,还是来得太迟了。逝去的生命无法挽回,货拉拉也将饱受争议。

事实上,这一切本来可以更早引起货拉拉的警醒。

根据天眼查,2019年以来,货拉拉先后7次受到行政处罚,处罚事由包括“生产经营单位未按照规定对从业人员、被派遣劳动者、实习学生进行安全生产教育和培训”、“未按照规定制定生产安全事故应急救援预案或者未定期组织演练”、“生产经营单位的主要负责人、安全生产管理人员未按规定经考核合格”,合计被罚款54万元。

在黑猫投诉平台上,与货拉拉相关的投诉超过4000条,投诉者既包括普通用户,也包括平台司机,问题涉及货物损坏或丢失要求赔偿、额外收费、平台扣分审核等。

更何况,前有郑州空姐被网约车司机杀害、乐清女子乘坐网约车失联身亡……这些惨痛的教训,早就给整个行业敲响了安全警钟。同样作为网约车的货拉拉为什么没有引起重视?

是问题太小不值得,还是货运网约车只拉货不拉人,这显然值得深思。

有分析人士认为,企业总是不惜一切地追求利益最大化,避免责任带来的成本与风险,防微杜渐是很费钱的,在“小问题”上装聋作哑是最经济的选择。但另一方面,一家颇有成绩的互联网企业,无论是技术还是资金都足以搭建一套基本的安全系统,录音录像、一键报警、行程分享,“这都是被广泛应用的方法,不是想不到做不到,只是愿不愿意费心思去做。”

另外,虽然货拉拉给出了整改方案,但从另一面来看,仅靠企业自身监管,显然远远不够。

长沙警方人士表示,目前网约货运行业乱象较多,应以此事件为契机推动行业反思整改,平台企业、政府部门和行业协会应全力查找漏洞,升级安保体系,强化监管措施,加强行业自律。

孔磊也说到,相关部门应加大监管力度,提高类似货拉拉平台的设立门槛,建立追踪体系,定期评估平台对于乘客安全保障监管系统的完善工作。

责任编辑:贾楠 SN245

加载中...