新浪新闻 国内

债务缠身的山东大地乳业将破产重整,疑似另起炉灶

新京报

关注

原标题:债务缠身的山东大地乳业将破产重整,疑似另起炉灶

全国企业破产重整案件信息网近日公布山东大地乳业有限公司(简称“大地乳业”)的破产重整申报材料,当地法院已裁定受理其破产重整案。

公开信息显示,大地乳业成立已10年,曾计划建成集万头牧场、万亩牧草、800吨乳品加工于一体的循环乳业产业链。而眼下,大地乳业负债总额达5.56亿元,资产负债率为84.1%,已处于无力偿债、停止自主运营、官司缠身的境地。

据知情人士向新京报记者透露,大地乳业资产负债率较高与其重资产投入有关。目前大地乳业采用托管模式,实际上已以“山东华澳大地农业发展有限公司”的身份另起炉灶,并有国资介入。针对此事,目前被法院指定为大地乳业联合管理人的律所律师称暂不知情。

无力偿债申请重整

全国企业破产重整案件信息网公布的民事裁定书显示,2020年5月29日,大地乳业以不能清偿到期债务且明显缺乏清偿能力,但具备重整价值为由,向山东省东营市中级人民法院申请重整,法院已裁定受理其重整申请。

经法院查明,大地乳业2010年1月成立于东营市广饶县,注册资本1.4亿元,经营范围包括奶牛养殖、牧草种植、进出口业务等,法定代表人及控股股东均为王成武。

目前,大地乳业旗下拥有3家子公司,分别为东营大地生物科技有限公司、山东大地牧草科技有限公司、山东大地伟宁农牧发展有限公司。截至2020年4月30日,大地乳业资产总额为6.62亿元,其中固定资产和在建工程1.24亿元;负债总额为5.56亿元,资产负债率为84.1%,目前处于对外租赁经营状态。

大地乳业提供的重整可行性报告显示,其乳制品市场前景广阔,牧场整体运营价值保持良好,具有较高的重整价值。目前,大地乳业已向法院提交了股东会决议、财产状况说明、债权债务清册、职工清册、重整可行性报告、社保缴纳统计表等材料。

法院认为,大地乳业具备申请重整的主体资格。该公司虽然资产大于负债,但已停止自主经营,因涉及多起执行案件经法院强制执行无法清偿债务,认定该公司无清偿能力,具备法定重整原因和重整条件。

目前被法院指定为大地乳业联合管理人的山东齐鲁律师事务所6月17日在全国企业破产重整案件信息网公布的《债权申报通知书》,大地乳业第一次债权人会议将于8月26日上午以网络会议形式召开。

被指另起炉灶

公开信息显示,大地乳业曾在多年前宣称拥有万亩饲草科研基地、万头奶牛养殖基地、800吨乳品加工基地、2万吨有机肥生产基地、高效农业观光项目等,还曾计划3年时间打造出一条从科研开发、有机牧草种植、标准化养殖、乳品加工到沼气发电、生物有机肥、生物医药的循环发展乳业经济产业链。

2012年8月,大地乳业“老广北”奶粉试产成功,“标志着公司奶粉生产线达到正式生产的标准。”大地乳业曾表示,乳品加工项目是其乳业循环经济园区的一部分,“利用自有奶源生产高端乳制品,这在东营市内尚属首家”。同年12月,大地乳业还被授予山东省农业产业化重点龙头企业称号。

一家地方龙头乳企如何走到重整边缘?一位知情人士告诉新京报记者,大地乳业此次更多是资产重整,“不是大问题”。“大地乳业又做了华澳大地,产权结构不一样,引入了山东高速国资股份,这边破产对新公司有好处。”

对此,参与大地乳业此次重整的律所律师6月18日回应新京报记者称,不清楚“华澳大地”相关情况。

企查查显示,华澳大地的全称是山东华澳大地农业发展有限公司,成立于2017年,注册资本5亿元,注册地址同样位于山东省东营市,经营项目包括奶牛养殖、牧草种植、旅游项目开发运营等。齐鲁交通服务开发有限公司、丁唯、垦利城市建设开发投资有限公司、杨宗堂、山东通嘉投资有限公司分别持有40%、35%、15%、5%、5%的股份。大股东齐鲁交通服务开发有限公司的实控人为山东省国资委。

表面看来,华澳大地与大地乳业及其实控人无股权关联,但大地乳业监事张营同时是华澳大地子公司山东爱斯黛尔牧业、东营天驰牧业的监事。

官司缠身成老赖

从重整材料透露的高负债率、停止自主经营、官司缠身等信息可以看出,大地乳业的运营情况并不理想。

上述知情人士称,“大地乳业老板原来并不从事这个行业,万头牧场、饲草种植等资产投入太重,从而导致其负债率较高。该公司以前是自营,现在托管给了第三方,重组后是否还会继续托管尚不可知。”

上述律师对此回应新京报记者称,由于大地乳业重整申请刚刚被法院裁定受理,律师团队还在对其资产情况进行调查,尚无法确定法院公告中提到的在建项目与万头牧场、万亩饲草有关。

企查查显示,大地乳业实控人王成武共关联6家企业,在成立大地乳业前,曾先后涉足碳黑、酒店、化工、沥青等产业,目前兼任东营广北沥青有限责任公司的执行董事、东营市腾跃化工有限责任公司监事。

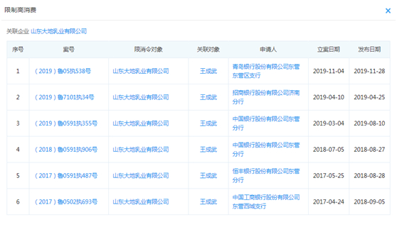
值得关注的是,大地乳业涉及东营市法院的20余起执行案件,2017年6月被东营市东营区人民法院列为失信被执行企业。实控人王成武也因公司与青岛银行东营区支行、招商银行济南分行、中国银行东营分行、恒丰银行东营分行、工商银行东营西城支行发生金融借款合同纠纷等,而被限制高消费。

新京报记者 郭铁 图片来源 网站、工商信息截图

编辑 李严 校对 李世辉

加载中...