《逃出大英博物馆》指同名展览侵权,热门剧屡遭抢注商标如何破解
新京报
4月6日,短剧《逃出大英博物馆》主创“夏天妹妹噢”在微博发文称,近期有粉丝反映一个名为《逃出大英博物馆》的“文物”展售卖门票,但他们从未向外有过商业授权,“该馆未获授权便使用我们的台词内容作为商业展出的素材,属于侵权行为。”该剧主创“煎饼果崽”也发文表示非常愤怒,“我们永远不会用这个话题赚哪怕一分钱。”“那是我写的词,请不要让它们出现在那些地方。”
而后,“逃出大英博物馆”策展方发布声明称:“近期有部分网络达人在未经许可的情况下私自使用网络短剧《逃出大英博物馆》中的内容进行短视频发布,并在未征得我方同意的情况下,擅自在视频下方对我展览馆进行定位。”策展方表示,该展览创意源于2023年1月一位网友倡议拍《逃出大英博物馆》动画的留言,6月就进行了场地确认,展览策划筹备至今取得了相关机构的一系列认证及授权。
“逃出大英博物馆”展览是否涉嫌侵权?为何近年来热播剧频繁出现商业授权、著作权、商标权等各执一词的纠纷?新京报记者联络该事件各方当事人以及律师进行分析与解读。
短剧《逃出大英博物馆》。
当事双方:
短剧方不希望公益作品被商用
策展方否认存在有关著作权问题
短剧《逃出大英博物馆》于2023年8月上线,讲述了一盏从大英博物馆出逃的中华缠枝纹薄胎玉壶,化身成女孩,遇到一名在海外工作的中国媒体人,随后俩人共同踏上归家之路的故事。该剧在短视频平台播放量突破4亿,曾被评为国家广播电视总局2023年度优秀网络视听作品。4月6日,该剧主创“夏天妹妹噢”发文称,“近期有粉丝向我反映,有一个展名为《逃出大英博物馆》的‘文物’展,并贩售门票。我们从未向外有过商业授权,也没有授权该展。我们不希望公益创作的作品内容被用于商业盈利。”
而该短剧主创口中的展览,是正在武汉展出的“何日复归来·逃出大英博物馆”。根据某点评平台显示,该展览分为58元单人票和88元双人票,亮点为“1:1复制大英博物馆内文物陈列”“NPC角色演绎”等。而在大麦网上,“逃出大英博物馆”南京站和杭州站的展览也已开票,票价从39.9元至128元不等。
4月6日该事件引发大众热议后,新京报记者试图联络短剧《逃出大英博物馆》主创“夏天妹妹噢”和“煎饼果崽”,但截至发稿未得到回复。
4月8日,新京报记者联络到“逃出大英博物馆”策展方负责人王先生。王先生表示,“关于‘逃出大英博物馆’的著作权也好,或者它的相关权利也好,我们认为它是属于全体网友和社会群体的,因为都没有注册。目前来讲,相当于他们(短剧方)制作了相关的短视频,我们做了一个宣传的展览、展厅。我们展厅的内容跟短视频的内容毫不相干。这是两个思路完全不同的东西。”
关于消费者提出展厅部分文案与短剧台词雷同,是否涉及侵犯该短剧的著作权,王先生称:“我们是线下展览展厅,我们按自己的策展思路和呈现方式展示海外流失文物的背景、历史和文化内涵,与网络短剧完全不同,不存在有关著作权的问题。”
王先生称,在策展之前包括这段时间出现舆情,他们实际上对短剧《逃出大英博物馆》的相关信息和影响力不够了解,“我们在策展之后就对相关的‘逃出大英博物馆’的logo,也为了自我保护,做了相关的版权登记。”王先生称,他们目前暂时没有联络短剧方,短剧方也没有联络他们。“我觉得各自表明立场和观点,大家努力把自己的事情做好。如果觉得另一方有冒犯或者有不妥,可以通过各种途径解决。目前我们也正在进一步研判和评估(舆情影响),跟他们(短剧方)取得联系,因为中间可能确实还是有一些误会。”王先生说,目前来看,接下来在各地的展览将继续沿用“逃出大英博物馆”这个名字。
律师:
“逃出大英博物馆”具显著性
策展方或涉嫌不正当竞争
对此事件引发的争议,新京报记者采访到中闻律师事务所合伙人、律师赵虎。
赵虎表示,“逃出大英博物馆”目前并未在相关领域被注册成商标,而著作权保护的对象是法律意义上的作品。仅就该片名而言,无法称之为“作品”,因此若策展方仅是用“逃出大英博物馆”的名字进行展览等商业活动,并不需要经过授权。
但考虑到短剧《逃出大英博物馆》在播出后有了一定影响力,并获得较高的大众知名度,令“逃出大英博物馆”具有名称显著性,在这样的情况下,第三方再利用该名字进行商业活动,可能会导致大众将两者混为一谈,构成不正当竞争。根据《中华人民共和国反不正当竞争法》第六条第一款,经营者不得擅自使用与他人有一定影响的商品名称、包装、装潢等相同或者近似的标识。
据悉,业内也曾出现过类似的不正当竞争案例。据中国法院网4月2日报道,日前湖南省岳阳市岳阳楼区人民法院审结了某公司擅自销售无授权的《陈情令》影视剧周边衍生产品一案。该案中,原告贵州某传媒集团有限公司依法享有电视剧《陈情令》的著作权。而后,平江县某网络科技有限公司在某网站销售《陈情令》周边,标有“陈情令魔道祖师周边魏无羡Q版动漫蓝忘机公仔可动换脸模型摆件”等关键词。法院认为,《陈情令》在电视台及网络平台播放取得了较高的收视率,多家网络媒体对该剧的制作、播放、获奖等情况进行了报道,可认定该剧的剧名“陈情令”属于有一定影响的商品名称。被告公司在其网店售卖的商品标题中使用上述剧名,用于推销盈利,易使公众误认为其销售的商品来源于原告传媒集团或与原告存在特定联系,构成擅自使用原告有一定影响的商品名称的不正当竞争行为。
除不正当竞争之外,“逃出大英博物馆”展览的另一个争议点是部分消费者称其部分展览文案疑似抄袭短剧《逃出大英博物馆》的旁白台词。记者根据消费者发布的武汉站现场图调查发现,“龙纹琉璃”的文案“病骨支离,离家已有百年,哪怕分身(剧中为神)断魂,也断不了这魂牵梦绕的乡愁!”“真武大帝”的文案“待我归营时,还我一个,太平的万里江山”,与短剧的第三集部分台词存在雷同。
赵虎表示,是否侵犯作品著作权,要根据其雷同字数的多少,以及剧中台词是否有独创性而判断。独创性,即由作者独立创作并且有一定的创造性。有一定的创造性常常表现为有一定的美感和艺术高度。如果短剧的台词是具有独创性的,且“逃出大英博物馆”展览文案确实有足够多的雷同,这种情况下展方或涉嫌侵犯短剧方的著作权。
网友发布的“何日复归来·逃出大英博物馆”展览现场图片,右下角的文案与短剧中的台词相同。
《逃出大英博物馆》短剧截图。
——解析乱象——
热播剧商标抢注成风,出品方可“申诉”
《逃出大英博物馆》争议背后,热播剧相关商标遭抢注的现象也再次受到外界关注。
新京报记者发现,自2023年8月30日短剧《逃出大英博物馆》热播后,“逃出大英博物馆”商标就遭到多家企业抢注。据国家知识产权局商标局中国商标网显示,目前“逃出大英博物馆”正在被三家公司和个人申请商标,其中一家为北京超乐无限文化传播有限公司,申请了12个商标,范围涉及教育娱乐、服装鞋帽、科学仪器等类别。据悉,该公司曾于2023年备案动画电影《逃出大英博物馆》,公司股东之一是知名导演英达。还有一家是贵州就释文化有限公司。经查,该公司即“逃出大英博物馆”展览的策展方,申请商标类别为教育娱乐,包含动画片制作服务、组织文化或教育展览、提供博物馆设施、演出制作等。以上商标最早申请时间为2023年12月17日。截至目前,“逃出大英博物馆”所有商标注册均处于等待实质审查的状态。
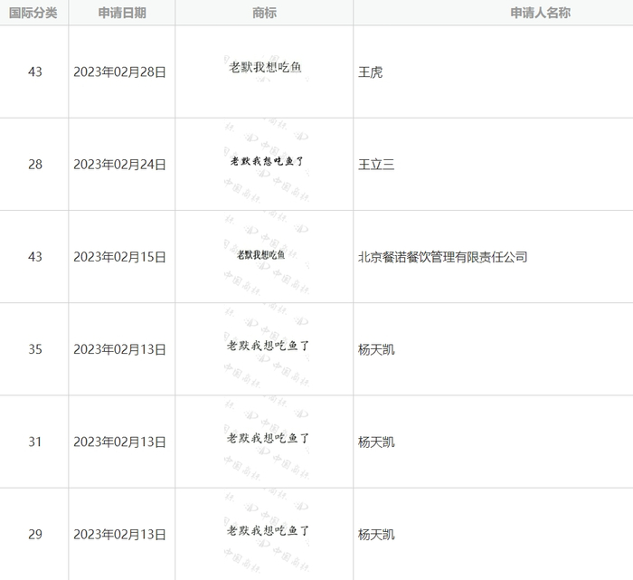
热播剧剧名商标遭多方抢注的现象,近年来在影视圈屡见不鲜。最典型的是2023年的开年爆款剧《狂飙》。随着该剧热度持续攀升,剧中角色名,比如高启强、高启盛、陈书婷,台词“老默我想吃鱼”等,都被迅速抢注为商标或注册为公司名。据国家知识产权局商标局中国商标网显示,仅关键词为“高启强”的商标申请就有23个,涉及11家企业及个人,涉及教育娱乐、熟制食品、广告销售、餐饮住宿等多个类别。其中,最早的商标申请日期为2023年1月28日,即《狂飙》播出后半个月。而2023年2月后,多家名为“老默我想吃鱼”的公司也相继成立,比如“湖北老默我想吃鱼文化传播有限公司”“勉县老默我想吃鱼服装店”等。
《狂飙》主角高启强。
《狂飙》播出后,台词“老默我想吃鱼”被抢注为商标。图表最前面的数字代表了不同的申请门类,如数字43代表临时住宿等,数字35代表广告等,数字31代表水产养殖等。图片源自国家知识产权局商标局官网
无独有偶,日前收官的热播剧《与凤行》商标也早已被多方抢注。在2021年7月该剧正式备案后,自然人曾某便申请了广告销售、科学仪器类商标,深圳某茶业公司申请了方便食品类商标,佛山某服饰公司申请了服装鞋帽类商标,以及佛山某药业公司申请的日化用品商标。以上商标均已完成注册。而在今年3月初该剧定档播出后,杭州某科技公司和大连某生物技术公司也分别抢注了“与凤行”的方便食品、啤酒饮料类商标,以及医疗用品、医疗园艺类商标。
为何爆款剧会成为商标抢注的蜂拥之地?众所周知,商标是商品或服务最直接的标记,在正式注册后也具有排他性。而当一部电视剧成为爆款,其剧名也成为“流量招牌”,天然具有极强的广告属性和大众知名度,可以为商家和商品带来自来水流量。在任何领域,“逐利”都是商标抢注的根本症结。
另一方面,不少出品方对商标权的重视程度不够,尤其一些中小成本作品或“黑马”作品。据悉,通常情况下商标的申请和注册时间需要6至12个月;而受理商标注册的收费标准(纸质申请)仅为每件300元(限定商品或者服务项目10个),每超过一个附加30元;电子发文的网上申请为每件270元,门槛并不高。而随着市面上越来越多投机者时刻瞄准影视剧这块“流量蓝海”,若剧方观望作品热度走高后再着手商标申请,有可能剧中热门元素早已被第三方抢注。此时剧方再想生产剧集衍生产品,或与知名品牌联名,就会面临侵权风险。
实际上,为了防止影视剧元素的商标被抢注,目前很多剧方已经开始提前“干预”,比如在作品筹备阶段就先行注册剧名商标,或在剧正式上线之后尽快申请注册热门元素。例如“繁花”早在2020年就被电视剧《繁花》的出品方泽东事务所有限公司申请注册了100余个商标,涉及教育娱乐、方便食品、啤酒饮料、金属材料等几乎所有商标类目。而在该剧播出后,该公司又迅速申请了“繁花爷叔”“繁花玲子”“繁花李李”“繁花阿宝”等多个涉及角色的商标。电视剧《长相思》也早在2020年筹备期间(2022年开机)就被出品方浙江星莲影视文化有限公司提前注册“长相思”商标,涉及广播和电视节目制作、电影发行、书籍装订、服饰制作等多个类目。
《繁花》引起收视热潮。
《繁花》出品方泽东事务所有限公司申请注册多个有关商标,图表最前面的数字代表了不同的申请门类,如数字12代表运载工具等,数字8代表手工具等,数字33代表酒精饮料等。图片源自国家知识产权局商标局官网
重视商标申请和著作权维权,意味着影视领域知识产权应用意识正在逐步提升。赵虎提示,如果部分热播剧在播期间被抢注商标,在商标申请初步通过并公告之日起3个月内,出品方可以向商标局提出异议,以此主张权利。即便商标已经注册通过,根据《商标法》规定,若存在侵犯未注册驰名商标的、因业务关系抢注未注册商标;抢注被代理人的商标的、以不正当手段抢注知名未注册商标等行为,自商标注册之日起五年内,在先权利人或者利害关系人也可以请求商标评审委员会宣告该注册商标无效。
新京报记者 张赫
编辑 佟娜
校对 翟永军