孙女炫富“坑爷”暴露了啥?
新民周刊
还是那句话:莫伸手,伸手必被捉。
文 | 阿 晖
“我只知道我家有9位数!”近日,一名网名叫“北极鲶鱼”的女子在网络上发表的言论,引发了舆论广泛关注,网友们质疑其炫富,家人涉嫌贪腐,同时也对其中涉嫌侮辱国人的言论表示了极大愤怒。
3月24日下午,深圳市交通局发布情况通报称,该言论提及的当事人系该局原货运分局干部钟某某,已于2007年11月退休,该局已就相关信息开展核查。
图源:深圳市交通运输局官方微博
网民晒出的手机截图显示,这名叫“北极鲶鱼”的女子在微博上与网友交谈时得瑟自己“润了”,嘲讽国人是“韭菜”,还炫耀自己“家里(存款)有9位数”、家人“感觉贪了”等,还晒出了其家长与高官合影、其母亲凌晨赌博和其父的微信交流记录。同时,在该女子的言论中,也有不少涉嫌侮辱国人的用词,还骂底层民众是“老鼠”。
有网友发现,“北极鲶鱼”的IP显示的地点在澳大利亚,疑为在外留学中国学生。根据其个人主页上晒出的不少其爷爷“公派”出国以及在深圳公务员培训班的合影,以及家人工作照片检索,网友认为该女子是深圳市交通局副处级退休干部钟某某的孙女。
“北极鲶鱼”晒出的其爷爷工作时期合影,来自网友截图
如果这女子炫耀是真的,过亿的家产是如何而来的,是否与贪腐有关?如此奇葩的涉嫌炫富与侮辱的言论,正义感爆棚的网友们不往贪腐上想都不行,不举报你才怪。
3月24日下午,深圳市交通局发布情况通报:我局已注意到关于网传退休干部家属发布的有关言论,经核查,该言论提及的当事人系我局原货运分局干部钟某某,已于2007年11月30日退休,我局已就相关信息开展核查,将及时通报有关情况。
网友一曝光,官方纪检部门一下场,这名钟姓女子有点发急了,称网友发的截图及信息影响到了她和家人,是“引导网暴”,还称“我家经得起细查”。
目前,该女子的社交平台账号已经改名并删除所有信息,并已被封禁。
正在被核查的深圳市交通局退休干部钟某某,在接受媒体采访时回应称,其孙女钟某称家中有9位数的说法不实。他在2007年退休,曾任深圳区级交通局局长,目前相关单位正在介入调查。钟某某还表示,网上部分言论为网友造谣,孙女因其争议言论正哭得一塌糊涂,“我也写了材料给领导,一定要调查清楚,怕影响我们单位声誉和孙女读书” “老老实实就这样干到退休”。
图源:中国新闻周刊
值得注意的是,有网友举报钟某某曾注册了千万美元的公司。
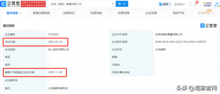
企查查App显示,与钟某某同名人员曾于2003年在广东省清远市注册成立金域远东(阳山)有限公司,注册资本1200万美元,法定代表人及董事长均为钟某某。
企查查信息显示,该公司所属行业为化学原料和化学制品制造业,经营范围包含:生产、销售高补强透明白碳黑、高补强硅橡胶用白碳黑、消光剂、硅酸钠等项目的筹建。该公司由中国香港企业金域(远东)集团有限公司全资持股,其成立时间为2001年3月,解散时间为2007年11月。此外,金域远东(阳山)有限公司显示已于2007年4月被吊销。
企查查显示的相关信息截图 来源:观察者网头条号
《中华人民共和国公务员法》《行政机关公务员处分条例》与《中华人民共和国公职人员政务处分法》显示,公职人员在职期间经商是违法的,已经退休的公职人员退休前有违法行为的,不再给予政务处分,但是可以对其立案调查并进行相应处理。
如果网友的这个举报属实,前局长钟某某与成立金域远东(阳山)有限公司的钟某某是同一人,那么他在公职期间经商办企业,已经是违法行为。如果进一步查出有犯罪行为,则将有司法机关对其进行严惩。
钟某某是否在退休前有过贪腐行为,是否利用其职权谋取私利,或者子女是否依靠其影响力有过相关不法行为,这些都需要相关部门调查核实后才能下结论。
如果钟姓女子的言论只是“吹牛皮”炫富,则暴露出其家风不正、家教缺失、三观扭曲等问题;如果其所言为真,那么相关部门倒是要好好地挖一挖查一查,一名退休公务员是怎样才会拥有亿万家财?
在反腐倡廉持续深入推进的今天,老百姓对于贪污腐败是深恶痛绝。这些年,贪官的败露,有的归功于群众的举报,有的归功于情人和知情人的揭发,有的归功于小偷,有的归功于孩子的“坑爹”和炫富,有的归功于官员升职离职前的审计,等等,不一而足。
大家可能对去年夏天的江西“周公子”炫富事件记忆犹新,如今又来了个“贤孙女”炫富“坑爷”。网友戏称,如果由此牵出腐败,抓住贪官的话,那真应该给她记上一功,算是为反腐做出了贡献,“这样的孙女不妨多来些”。
我们期待深圳市交通运输局早日公布调查结果,如果真像钟先生讲的老老实实干到退休,就还钟先生一个清白,如果真的涉及腐败问题,那么该追究责任就追究责任,按照对腐败分子惩治的流程来。
还是那句话:莫伸手,伸手必被捉。
综合来源:中国新闻周刊、深圳市交通运输局、观察者网、上游新闻、界面新闻等