新浪新闻

已增至29例!这趟列车途经多个省份

封面新闻

关注

截至目前,与Z22次列车有关的阳性人员已至少有29例。

  • 北京2例

8月18日,北京市顺义区、大兴区分别在隔离管控人员中发现1名核酸检测阳性人员。2名阳性人员均曾于8月16日在青海省西宁市乘坐Z22次列车。

  • 河北13例

8月17日,河北省沧州市新增2例无症状感染者,系8月15日自西藏拉萨返沧人员,2人系母女关系。2名感染者均于8月15日16:00,乘坐Z22次列车。

8月18日,河北省新增无症状感染者11例,均为8月17日经停河北省的某列车乘客,其中沧州市6例(献县4例、河间市2例)、石家庄市3例(桥西区2例、晋州市1例)、衡水市1例(深州市)、邯郸市1例(肥乡区)。

另据“献县发布”通报:献县新增的4例新冠肺炎无症状感染者,均系8月17日自西藏拉萨返沧人员,曾于8月15日16:00乘坐自西藏拉萨至石家庄北站的Z22次列车。

  • 河南5例

8月18日,河南全省新增本土无症状感染者9例(驻马店市遂平县4例,安阳市滑县4例,周口市川汇区1例),无新增本土确诊病例。

其中,滑县4例感染者为西藏返滑人员,于8月15日16:00从拉萨火车站乘坐Z22次列车(13车厢)于16日13:30到达西宁火车站。

另据“信阳发布”微信公众号消息,8月18日,潢川县在集中隔离点核酸检测中发现1名初筛阳性人员,经复核后,被诊断为新冠肺炎无症状感染者。该阳性人员8月15日从西藏那曲火车站乘坐Z22次列车(13车厢16号上铺)于8月16日到达西宁火车站。

  • 山西7例

据山西省卫健委网站消息,8月18日,山西省新增本土新冠肺炎确诊病例1例(晋城市城区1例);新增无症状感染者5例(晋城市城区4例、运城市新绛县1例)。

另据通报,山西太原18日发现1名初筛阳性人员,系乘坐8月17日Z22次列车返并人员。

另据太原、晋城、运城等地通报,新增病例均为Z22次列车乘客。详情如下↓

向上滑动阅览

太原

据山西省太原市疫情防控办消息,8月18日20:19,该市小店区报发现1例核酸检测初筛阳性感染者,系乘坐8月17日Z22次列车返并人员,与晋城市阳性感染者同车厢人员。

晋城

据山西省晋城市疫情防控办通报,8月17日,该市泽州县在高铁东站对入返晋城人员开展第一落点核酸检测筛查中,发现1名初筛阳性人员。

据“晋城发布”微信公众号消息,经查,晋城市乘坐Z22次列车自西藏拉萨经太原中转返回人员共5名。经专家组研判,1人为轻症确诊病例,4人为无症状感染者。

运城

据山西运城市卫健委官方微信消息,8月18日12时47分,山西运城市新绛县报告1名西藏返乡人员核酸检测阳性。

该阳性感染者8月15日从西藏乘坐Z22次列车出发,8月17日凌晨3时59分抵达太原站,换乘K609次列车于8月17日13时50分抵达新绛火车站,被点对点转运至集中隔离点。

  • 山东1例

8月17日,山东枣庄台儿庄区在对省外返台人员核酸检测中发现1人阳性,诊断为无症状感染者。该无症状感染者于8月15日16:00从西藏拉萨站乘坐Z22次列车。

  • 甘肃1例

8月19日,临夏县在集中隔离管控的重点人群中检出1例省外返临新冠病毒阳性感染者。该感染者于8月15日19:24乘坐Z22次列车,从西藏那曲火车站前往兰州火车站。

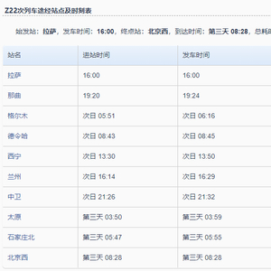
据了解,Z22次列车由西藏拉萨站开往北京西站,共有10站,全程耗时约40小时28分钟,途经多个省份。

来源:中国新闻网综合央视新闻客户端、“北京顺义”微信公众号、“这里是大兴”微信公众号、河北省卫生健康委员会、“献县发布”微信公众号、“信阳发布”微信公众号、滑县融媒体中心等

加载中...