用妈妈手机偷玩游戏,12岁男孩4个月充值6.7万
成都商报
原标题:用妈妈手机偷玩游戏,12岁男孩4个月充值6.7万 游戏平台:将联系沟通退款事宜
账户上钱少了,四川威远县一对夫妇为此吵哭多次。丈夫怀疑妻子乱花了钱,妻子则称自己节省得连一碗面都舍不得多吃,但他们都没有怀疑到12岁的儿子小军(化名)身上。
直到不久前,小军在凌晨5时许偷偷玩游戏,被姐姐无意中撞见,夫妇俩一查才知道,原来,小军或利用学习之机,或趁夜深偷偷拿走母亲手机,用姐姐手机号在一款名为“猫和老鼠”的游戏注册,然后偷偷玩手机游戏,4个月时间花掉母亲支付宝等账户里6.7万余元。其中,5月4日凌晨短短1个多小时,小军在玩游戏时19次充值购买单价648元的“钻石6480”,花费1.2万余元。
目前,小军家人已向游戏平台提交资料申请退款,游戏平台客服也表示,工作人员将联系沟通退款事宜。
夫妻因钱少了多次吵哭
儿子偷玩游戏被发现
原来钱是儿子花了
今年50多岁的黄先生和付女士,在威远县城经营着一家小店。今年6月,他们在进货时发现钱不够付款。“感觉(账户里)钱少了,我以为老婆拿去用了,但她又说自己连一碗面都不舍得多吃。”为此,黄先生和妻子多次吵架,“每次吵哭就不吵了。”
因为平时业务往来较多,资金进出频繁,尽管感觉账户里钱少了,但两人也不明就里,更没有怀疑到12岁的儿子小军身上。
直到6月18日凌晨5时许,他们女儿黄女士起床发现,小军正偷偷玩着一款名为“猫和老鼠”的手机游戏,十分入迷。“几年前,他拿手机玩游戏,充了4000多元。”付女士为此怀疑,账户里的钱可能是儿子偷偷玩游戏花掉了。
当天,付女士到银行查询流水,证实了她的怀疑。看着流水清单上一笔又一笔少则6元,多则648元的资金充值购买“钻石6480”,夫妻俩十分生气。
女儿黄女士查询交易明细发现,“钻石6480”正是小军所玩游戏“猫和老鼠”中的,资金流向为杭州网易雷火科技有限公司。
1个多小时充值1.2万元
家人称他偷玩游戏至深夜
学习成绩下降身体也差了
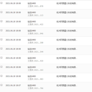
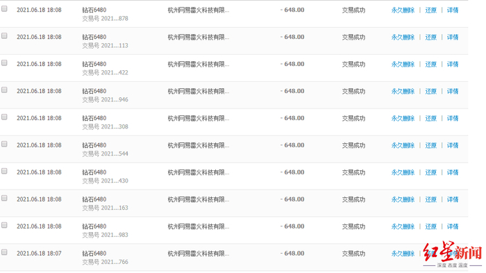
黄女士统计后发现,今年2月11日至6月18日,4个月时间,小军在游戏“猫和老鼠”中共充值130次,充值总金额达67094元。每次充值金额在6元、45元、78元、128元、348元和648元不等,其中大部分单次充值金额为648元。这些充值都被用于购买“钻石6480”。
▲黄女士6月18日查询到的小军游戏充值记录(部分)。
红星新闻记者根据黄女士提供的流水及统计信息发现,5月4日凌晨1时47分至3时9分,小军共19次充值购买单价648元的“钻石6480”,花费1.2万余元。
▲黄女士统计发现,5月4日凌晨短短1个多小时,小军有19次充值。
“5月4日那天凌晨,充值了19次。”付女士和丈夫黄先生说,自几年前发现儿子玩游戏充值4000多元后,最近几年,他们几乎没有看见儿子玩游戏。每次,儿子要手机都说是为了学习。“他之前成绩挺好的,每次我们去看他(用手机),他都是在手机上看题,在学习。”
事发后,一家人询问才知道,小军或利用学习之机拿走手机,或趁夜深一家人睡觉后偷偷拿走母亲手机,偷偷玩游戏。
“他用我手机号注册的,然后用妈妈的支付宝等付款。”黄女士说,弟弟每次充值后,都会把收到的信息删除,这让家人一时难以发现。
那么,小军是如何知道母亲支付宝密码的?付女士说,儿子很聪明,知道她的支付密码,但她之前并未在意,也不知道儿子偷偷玩游戏并大额充值。
夫妇俩还说,他们根据充值时间发现,儿子偷玩游戏的时间主要集中在中午和下午放学回家后,有时甚至玩到凌晨四五点。“入迷了,学习成绩下降了,身体也差了不少。”
家人已提交“误充值申诉”
游戏平台:资料已收齐全
工作人员将联系沟通退款事宜
“之前他简直入迷了,现在不能让他碰手机,让他把玩游戏的瘾戒了。”黄女士说,事发后,一家人对小军进行了教育,不再让他接触手机,不给他偷玩游戏的机会。
付女士表示,在教育小军后,小军主动提出让她将支付宝密码更改了。“我给他说不改密码,让他自己有节制,但我偷偷还是改了。”
黄女士说,弟弟还在读小学六年级,是未成年人。这种偷玩游戏,瞒着家人充值6.7万余元,游戏平台应该退款。为此,她联系了游戏客服,并在6月25日在“网易家长关爱平台”提交了“误充值”申诉。6月28日,她又根据游戏客服要求,补充提交了相关资料。
7月2日,黄女士再次拨通“猫和老鼠”游戏客服电话,客服人员表示,她提交的资料已齐全,公司工作人员将在7至10个工作日内联系她,沟通退款事宜。
红星新闻记者登陆“猫和老鼠”游戏官网发现,游戏适龄提示中表示,该游戏有用户实名认证系统,认证为未成年人的用户,未满8周岁的用户不能付费;8周岁以上未满16周岁的未成年人用户,单次充值金额不得超过50元,每月充值金额累计不得超过200元;16周岁以上的未成年人用户单次充值金额不得超过100元,每月充值金额累计不得超过400元。
▲“猫和老鼠”游戏适龄提示。
据红星新闻此前报道,自2019年1月起,网易游戏在15款热门手游产品中上线了防沉迷系统。该系统认定的未成年人,每日游戏时间被限制在1至3小时不等。家长也可在同步升级的“网易家长关爱平台”,查询自己子女游戏账号的游戏信息和充值行为,可以禁止子女账号玩游戏。
■律师观点
若退款不成 可走司法途径
四川谦亨律师事务所律师张天鸿介绍,根据《民法典》第19条规定,8周岁以上的未成年人为限制民事行为能力人,实施民事法律行为由其法定代理人代理或者经其法定代理人同意、追认;但是,可以独立实施纯获利益的民事法律行为或者与其年龄、智力相适应的民事法律行为。
张天鸿认为,小军偷玩游戏的充值行为未经过父母同意,事后也没有得到父母的追认,加之短短4个月充值6.7万余元,甚至1个多小时19次充值总金额达1.2万余元,明显超出了与其年龄和智力相适应的程度。为此,小军家人可以要求游戏商家或平台退款。
张天鸿还介绍,根据最高人民法院《关于依法妥善审理涉新冠肺炎疫情民事案件若干问题的指导意见》,限制民事行为能力人未经其监护人同意,参与网络付费游戏或者网络直播平台“打赏”等方式支出与其年龄、智力不相适应的款项,监护人请求网络服务提供者返还该款项的,人民法院应予支持。为此,他认为,如小军家长向游戏平台方申请退款不成,可通过司法途径维护自身利益。
红星新闻记者 姚永忠