新浪新闻

记者实地探访!润和软件设“华为事业部”,深交所喊话:继续监控

21世纪经济报道

关注

原标题:记者实地探访!润和软件设“华为事业部”,深交所喊话:继续监控

导读:润和软件近期股价暴涨,背后有多方资金在炒作“鸿蒙”概念。

来   源丨21世纪经济报道(ID:jjbd21)

作   者丨韩迅

编   辑丨朱益民

6月25日,深交所发布监管动态,继续对前期涨幅异常的“润和软件”和近期涨幅异常的“众兴菌业”持续进行重点监控,并及时采取监管措施。

备受关注的“妖股”润和软件(300339.SZ)6月25日复牌了,但是其停牌核查结果和此前披露的几乎差不多。

记者实地探访!润和软件设“华为事业部”,深交所喊话:继续监控

6月24日晚,润和软件披露了关于股票停牌核查结果暨复牌的公告称,“公司未发现前期披露的信息存在需要更正、补充之处。公司近期经营情况和内外部经营环境未发生重大变化。公司、控股股东和实际控制人不存在关于公司的应披露而未披露的重大事项,也不存在处于筹划阶段的重大事项。经自查,公司不存在违反公平信息披露规定的其他情形。”

自5月12日启动,到6月18日停牌,润和软件的股价从9.55元一直涨到46.99元,股价涨幅达到392.04%。6月25日,复牌后的6月25日润和软件以单日下跌5.53%报收44.39元。

那么,这家“妖股”公司到底是何方神圣?近日,21世纪经济报道记者来到润和软件南京总部一探究竟。

总部有“华为事业部”

南京市软件大道的南侧有一个“润和.创智中心”园区,润和软件的办公地点就“隐身”于其中的B幢大厦之中。

尽管在资本市场已经搅得风起云涌,但是21世纪经济报道记者在“润和.创智中心”园区进行了随机采访,但仅有一人知道润和软件股价暴涨之事。“虽然我不炒股,但我也听说了润和软件的股价涨得很厉害,这家公司确实与华为是由业务往来的。”一位在此园区内工作的年青人如是说。

在2012年上市之前,润和软件招股说明书就显示,华为技术是其主要客户之一。

走进润和软件的办公大厦,首先映入眼帘的是其一楼前台背景墙上的一幅标语,“中央给我位,我当更有为,润和从中国软件百强向世界软件百强挺进”。

润和软件的办公地点主要集中在这座大厦的西侧,21世纪经济报道记者注意到一块楼层指示牌,润和软件的证券法务部在11楼,但是有多个楼层存在“润和软件—华为事业部”。

“不仅仅是鸿蒙业务,我们与华为还有其他的业务合作。”润和软件证券部一位人士告诉21世纪经济报道记者,鸿蒙业务并不大,占公司营收比例也很小,暂时不会对公司经营业绩产生影响。

润和软件2020年年报显示,公司是OpenHarmony(开放鸿蒙)发起单位之一、华为HarmonyOS(鸿蒙操作系统)生态共建者、海思芯片及IoT战略合作伙伴。

21世纪经济报道记者在采访中了解到,所谓“OpenHarmony(开放鸿蒙)发起单位之一”,其实是指2020年12月22日,OpenHarmony全场景分布式终端操做系统(即OpenHarmony)项目群首批工作委员会成员表明23人,在开放原子开源基金会的组织下召开了第一次工作会会议。

在这次会议上,OpenHarmony项目群的首批工作委员会成员正式亮相,他们分别是湖北亿咖通科技有限公司、华为终端公司、京东集团、解放号网络科技有限公司、润和软件、上海博泰悦臻电子设备制造有限公司及中国科学院软件研究所等七家单位的表明。

该OpenHarmony项目群托管了操做系统技术和架构的核心代码及组件,以开放治理的方式聚合芯片开发者、方案开发者、产品开发者、应用开发者及各类使能者,持续发展代码使用者和共建者。

而华为2021年6月2日宣布的是HarmonyOS操作系统正式发布,两者还是不一样的。

“你可以这么理解,OpenHarmony就是建造大楼的地基,他上面盖的大楼就是华为的HarmonyOS。”一位券商研究员告诉21世纪经济报道记者,对于全中国乃至全世界的开发者,只有有意愿就可以基于OpenHarmony设计自己操作系统,这对整个鸿蒙生态的意义是非凡的。“换句话说,谁都可以拿OpenHarmony开发出自己的‘HarmonyOS’。”

上述券商研究员直言,虽然市场现在爆炒润和软件,“但润和软件仅仅是OpenHarmony项目群首批工作委员会的7家单位之一,至于这家公司在OpenHarmony中的重要性、贡献力度、科技支持等,都没有明确披露。就目前的订单来看,还没看到润和软件与鸿蒙业务的强关联度。”

多路资金“协同作战”

有一个细节被市场所忽略,润和软件三家持股5%以上的股东在此期间进行了减持。

润和软件本轮暴涨的起点是以涨停报收11.46元的5月12日,第二天,也就是5月13日,南京国资混改基金有限公司(下称南京混改国资基金)通过深圳证券交易所大宗交易系统减持了800万股润和软件,减持均价为每股12.66元,而当日润和软件的收盘价是13.75元。

南京混改国资基金等于是打了九二折,从当天的买卖席位来看,该基金的卖出席位是华泰证券南京鱼市街营业部,接盘的席位是华泰证券南通如东人民路营业部。

5月24日,服务贸易创新发展引导基金(有限合伙)(下称服贸基金)通过大宗交易减持了100.40万股润和软件,平均每股减持均价为14.45元。从当日的大宗交易席位来看,服贸基金是通过招商证券北京北三环东路营业部减持的,而接盘席位来自天风证券上海分公司。

5月27日,上海云鑫创业投资有限公司(下称上海云鑫创投)通过大宗交易减持了82.43万股润和软件,平均每股减持均价为16.57元。从当日的大宗交易席位来看,服贸基金是通过海通证券杭州解放路营业部减持的,而接盘席位来自中国银河证券南平滨江西路证券部。

减持后,南京混改国资基金、服贸基金与上海云鑫创投所持有的润和软件股票比例均下降至 5%以下,这意味着它们此后的减持将不再被披露,而它们也表示“不排除未来12个月内继续减持润和软件股份的计划。”

21世纪经济报道记者注意到,华泰证券南京鱼市街营业部、招商证券北京北三环东路营业部和海通证券杭州解放路营业部此后又分别大手笔地通过了大宗交易减持了润和软件。

与此同时,在二级市场上,润和软件的股价从9.55元一直涨到停牌自查前的46.99元,股价涨幅近4倍。

上述润和软件证券部人士告诉21世纪经济报道记者,他们也不清楚公司股价为何上涨,“该披露的我们都披露了。”

润和软件的公告称,“近期媒体及二级市场对智能物联行业,以及公司与华为、鸿蒙的合作情况关注度较高,可能存在二级市场炒作风险。公司在智能物联业务领域的业务正常推进,但从2021年鸿蒙相关业务在手订单来看,鸿蒙业务量占公司业务总量比重较小,尚未对公司经营业绩产生重大影响。”

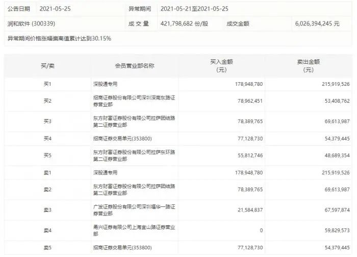
21世纪经济报道记者注意到,从5月12日开始,北向资金——深股通专用席位成为润和软件本轮行情推波助澜的早期资金,此后“接力棒”交接到了招商证券交易单元(353800)、东方财富证券拉萨团结路第二营业部、东方财富证券拉萨东环路第二营业部。

21世纪经济报道记者注意到,上述几家营业部以及深股通专用席位在润和软件的暴涨中起到了协同作用。

东方财富网数据显示,在过去三个月的时间里,招商证券交易单元(353800)与东方财富证券拉萨团结路第二营业部携手操作108次、与深股通携手操作55次、与东方财富证券拉萨东环路第二营业部携手操作32次,其中均有润和软件的身影。

如果将时间拉至近一个月,招商证券交易单元(353800)与东方财富证券拉萨团结路第二营业部携手操作40次、与深股通携手操作33次、与东方财富证券拉萨东环路第二营业部携手操作14次,依旧是润和软件为第一操作股票。

而且,在过去近一个月的时间里,招商证券交易单元(353800)买入润和软件达15次之多。

“我们不了解这些交易席位,也从来没有和这些资金联系过。”上述润和软件证券部人士如是说。

那么,这些“协同作战”资金赚到钱了吗?显然,它们是润和软件本轮行情的最大赢家。

东方财富网数据显示,近1个月,深股通净卖出1.53亿元、招商证券交易单元(353800)净卖出1.26亿元。

6月7日-17日,润和软件披露的交易数据显示,深股通累积买入5.81亿元,累积卖出7.12亿元,净卖出1.31亿元;机构累积买入43.82亿元,累积卖出58.35亿元,净卖出14.53亿元。而以中小投资者为主的自然人股东累积买入554.12亿元,累积卖出538.28亿元,净买入15.84亿元。

由此可见,润和软件上涨的钱都被深股通和机构投资者赚去了,而散户依旧是“赔本赚吆喝”。

尽管停牌自查多日没啥结果,但二级市场已有所反应,6月25日,润和软件以单日下跌5.53%报收44.39元。

加载中...