新浪新闻

冲上热搜!中国邮政也开奶茶店了!网友:包邮吗?

中国经营报

关注

原标题:冲上热搜!中国邮政也开奶茶店了!网友:包邮吗?

画风突变!中国邮政也开奶茶店了!

今天,一则#中国邮政成立奶茶店#冲上微博热搜。是的,中国邮政也开奶茶店了!

中国邮政也开奶茶店了

近日,据网友爆料自己家楼下中邮大药房刚刚成立奶茶店,名为邮氧的茶。

据悉,地点在福州一中邮大药房处。

据悉,该奶茶店的价格和一点点的价格相似,均在20元以下。

网友沸腾:要去打卡!

还有表示:包邮吗?!

该消息一出,迅速冲上微博热搜。

此外,个别社交平台显示,已不少网友已经“闻名”开始去“打卡”。

微博上网友纷纷表示:就想知道点奶茶包邮到家不……也有的表示想知道出货速度怎么样?

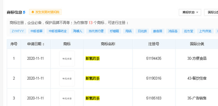
去年已申请注册商标

天眼查显示,目前该奶茶店运营公司为福建省邮氧的茶餐饮管理有限公司,成立于2020年10月,所属行业为批发业。

此外,中邮恒泰药业有限公司已在去年11月申请注册“邮氧的茶”的商标。

股权穿透后,该公司最大股东为中国邮政集团有限公司。

官网显示,中国邮政集团是国有独资公司,公司依法经营各项邮政业务,承担邮政普遍服务义务,受政府委托提供邮政特殊服务,对竞争性邮政业务实行商业化运营。 

经过多年持续发展,中国邮政集团有限公司已转型升级为实业与金融相结合、业务多元化的大型企业集团,竞争实力得到增强,企业效益明显提升,社会影响不断扩大。在2020年《财富》世界五百强企业排名第90位,在世界邮政企业排名第2位。

其中,资料显示,中邮恒泰药业于去年10月,新增经营范围:餐饮服务;食品互联网销售;食品互联网销售(销售预包装食品)等。

奶茶经济火热

青年人是主要的消费群体

奶茶近年来发展迅猛。据财新网,2020年,中国奶茶市场投资规模超40亿元,市场总规模超过1000亿元,有86%的奶茶消费者每周至少消费一次,而每天至少买一次奶茶的占比也达到12%。

奶茶头部品牌喜茶、奈雪的茶估值分别达160亿、130亿元,奈雪的茶还准备上市。

对此,艾媒咨询CEO兼首席分析师张毅分析,青年人是奶茶主要的消费群体。而在这之中,又以大、中学生和白领群体为代表。艾媒数据中心数据显示,超七成大学生用户每周喝奶茶次数在1次以上,35.3%大学生每周喝2-4次奶茶,甚至有5.9%大学生每天喝一次或以上奶茶,从来不喝奶茶的大学生仅为7.2%。

再看白领群体,在2021年1月中,中国31.1%白领群体每周喝奶茶2-4次,25.1%白领群体每周喝1次奶茶,26.9%白领群体每月喝一次或更少,而仅有10.9%白领群体从来不喝奶茶。

此外,中老年人也开始喝奶茶。3月9日,支付宝数字生活平台发布的春季奶茶消费报告显示,中老年人也开始喝奶茶了:线上点奶茶涨25%,整体奶茶消费涨10%。

张毅可以看出,随着时代的发展和需求的创新,奶茶已由早期从台湾传过来的珍珠奶茶等单一品种向多元化、健康化转变,奶茶主力得以由年轻一代向中老年人等群体延伸和扩散。

其次,喝奶茶已经成为一种潮流,随着时代和经济的向前发展,中老年人的思想进一步解放,对奶茶等饮品的接受程度进一步提高,“饮”领潮流也成了中老年人追赶的方向之一。

而如今的新式茶饮更是从原始的粉末时代剥离开来,健康程度得以提升,这对于追求“养生”的中老年人而言更具接受度。因而,品牌方若在品种中把握好多元、健康这两大要素,抓住消费者的口和胃,吸引不同阶段和类型的消费者仍具有很大潜质。

加载中...