新浪新闻

TCL科技涨停股价创历史新高,资金博弈激烈丨热公司

一财网

关注

原标题:TCL科技涨停股价创历史新高,资金博弈激烈丨热公司

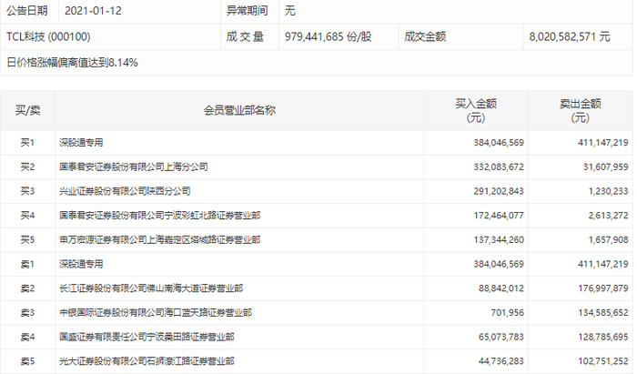
深股通买入3.84亿元并卖出4.11亿元,国泰君安上海分公司买入3.32亿元,兴业证券陕西分公司买入2.9亿元,国盛证券宁波桑田路证券营业部卖出1.29亿元。

1月12日,TCL科技涨停,报8.6元,股价创下历史新高,全天成交额超80亿元。

交易所公布的盘后数据显示,资金博弈激烈。其中,深股通买入3.84亿元并卖出4.11亿元,国泰君安上海分公司买入3.32亿元,兴业证券陕西分公司买入2.9亿元,国盛证券宁波桑田路证券营业部卖出1.29亿元。

1月11日晚间,TCL科技披露2020年业绩预告,报告期内归属于上市公司股东的净利润42亿至44.6亿,比上年同期增长60%-70%;基本每股收益0.3223元-0.3422元。

对于业绩上涨的原因,TCL科技表示,TCL华星保持满销满产,持续优化产品结构,运营效率保持业内领先,全年营业收入同比增长超过35%,净利润同比增长超过140%。其中大尺寸显示业务受益于产业回暖,主要产品价格自2020年第三季度持续上涨,大尺寸业务净利润同比增长超6倍;小尺寸面板线体受所在地区疫情带来的生产性物流及人员复工的问题,对业绩产生阶段性影响。

其次,公司收购苏州三星电子液晶显示科技有限公司60%股权及苏州三星显示有限公司100%股权的事项正在按计划推进,尚未完成交割,预计2021年将带来业务收入增长和效益贡献。

此外,公告还表示,公司产业金融及投资业务板块保持稳健增长,投资收益良好;2020年资产处置带来的一次性重组收益较2019年大幅减少;以及公司完成对天津中环电子信息集团有限公司100%股权的收购,第四季度已将其纳入本公司合并报表范围。

加载中...