实控人失联、账户冻结、股权被网拍,杭州高新还有哪些“黑幕”待解密?
一财网
原标题:实控人失联、账户冻结、股权被网拍,杭州高新还有哪些“黑幕”待解密?
11月23日晚间,杭州高新公告称,近日,杭州高新橡塑材料股份有限公司(300478.SZ,下称“杭州高新”)无法与公司实际控制人吕俊坤先生取得联系,其处于失联状态。
时隔三日,吕俊坤依旧没有消息,深圳证券交易所26日下发关注函要求公司披露其失联原因和行踪、个人债务情况、股权质押情况、及失联事件后续的影响等。
公司股价已创下3月以来的新低。截至11月26日收盘,杭州高新收报于10.79元/股,单日下跌1.46%,距离本月最高股价已经累计下跌26.5%。
除实控人失联外,杭州高新的营业收入和利润自2018年来逐年下滑,2020年三季报显示,杭州高新2020年前三季度实现营收3.13亿元,同比减少41.90%;归属于上市公司股东的净利润为亏损3316.56万元,去年同期亏损1352.47万元,公司资产负债率高达61.41%。
与此同时,杭州高新第一大股东高兴控股集团有限公司(下称“高兴集团”)持股已100%质押,部分被质押股份25日已于阿里拍卖网上进行拍卖。除高兴集团外,公司前十大股东中还有多名股东高比例质押股份。加之杭州高新还有多个银行账户被冻结,公司情况可谓“风雨飘摇”。
而这一切,距离吕俊坤、吕俊钦这两位“吕家兄弟”正式入主杭州高新不过一年时间。
实控人失联,公司却称无影响
目前,吕氏兄弟两人都已辞任公司职务。其中正处于失联中的吕俊坤不仅提前卸任董事长,此前还被媒体爆出已于10月底就处于失联状态。
11月23日晚间,杭州高新发布公告称,无法与公司实际控制人吕俊坤取得联系,其处于失联状态。截至目前,公司尚未能了解到吕俊坤失联的具体原因。
由于中国双帆投资控股集团(香港)有限公司(下称“双帆投资”)持有的公司股份处于质押状态,且已处于未按约定时间回购的违约状态。据了解,该业务的质押期限为2017年1月25日至2020年1月23日,平仓线价格为9.58元/股,吕俊坤失联可能将导致质权人华创证券对相关质押的股票进行违约处置,进而对公司的实际控制权产生影响,导致公司实际控制人发生变更。
虽然杭州高新对外表示,吕俊坤的失联未对公司生产经营和管理稳定性造成影响,市场却并不买账。24日早盘,公司股价开盘跳空下跌,后小幅回升,收跌3.41%;25日公司股价持续下跌,当日收报10.95元/股。
26日,吕俊坤依旧处于失联状态中,早间深交所下发关注函,要求披露公司及吕俊坤亲属截至目前对吕俊坤失联原因和行踪所掌握的信息,为联系吕俊坤已采用的具体措施等。与此同时,杭州高新需对外公布吕俊坤个人债务情况,包括债务金额、是否涉及公司责任、是否被提起诉讼等,是否存在冒用公司名义对外借款或对外担保的情况。
吕俊坤直接及间接控制的公司股份截至目前的质押情况,包括质权人、起止时间、质押股份数量、融资金额,如被平仓,对公司控制权稳定性产生的具体影响,为保持公司控制权稳定性所采取的措施等也在深交所披露要求中。
就在一年前,“吕家兄弟”为入主杭州高新可谓花了不少力气。
2019年9月,为帮助杭州高新解决资金困难和实控人资金占用、个人负债问题,吕俊坤和万人中盈承诺,将无条件不晚于2019年10月31日向高长虹出借1.5亿元资金,用于归还占用上市公司资金本金余额。
此外,杭州高新原实控人高长虹以及总经理楼永富与吕俊坤等多方签订协议,由后者支付1.88亿元收购双帆投资50.99%股份(1900万股),间接获得上市公司15%股份。
而早在2018年9月,高兴集团向万人中盈转让杭州高新5%股份,由于万人中盈的实控人吕俊钦与吕俊坤为兄弟关系,二者达成一致行动关系。
此后吕俊坤又以二级市场集中竞价方式增持633.4万股,占公司总股本的5%。由此,吕俊坤及其兄弟实际合计控制了杭州高新25%的股份。
2019年9月29日,高兴集团、高长虹与吕俊坤、万人中盈签订了《表决权放弃及相关承诺协议》,吕俊坤成为杭州高新的实控人。2019年11月初,吕俊坤出任杭州高新董事长。
按照原计划,吕俊坤任期至第三届董事会届满之日即2020年11月12日止。然而,吕俊坤已于2020年9月11日提前辞去公司董事长、董事、战略委员会委员等职务,不再担任公司任何职务。从2019年上任到辞职,时间不到一年。曾担任杭州高新董事的吕俊钦也已于今年7月辞职。
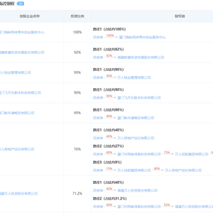
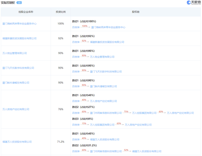
天眼查资料显示,吕俊坤以个人名义直接持股的公司有35家之多,其中直接控制超过50%股权的公司共有16家。
业绩难看,9个银行账户遭冻结
资料显示,杭州高新是一家集研发、生产电线电缆用塑料(电缆料)的企业,公司主营业务为线缆用高分子材料的研发、生产和销售,产品运用于电力、船舶、轨道交通、通信、电气装备、建筑、新能源等领域。
从往年公布的业绩报告来看,杭州高新的营业收入和利润不断下滑。2018年营业收入8.5亿元,2019年的营业收入下滑至7亿元,打了八折。2020年截至三季度末,公司营业收入只有3.1亿元,比上年同期下跌41.9%。
2018年归母净利润尚有2118万元,2019年归母净利润则降至大幅亏损2.9亿元,2020年前三个季度归母净利润亏损3316万元,比去年同期下滑了145.22%。其中,第三季度的亏损就达到1697.73万元。
11月18日晚间,杭州高新发布公告称,近日,知悉公司基本银行账户及部分银行账户被冻结,基本账户系浙江物产中大(600704)联合金融服务有限公司与公司民间借贷纠纷一案向杭州市上城区人民法院申请强制执行导致冻结。细究银行账户被冻结的主要原因发现,公司原实际控制人高长虹在公司不知情的情况下与债权人签订《借款合同》,在未经公司同意的情况下将公司作为《借款合同》项下的共同借款人,以致部分债务到期公司未能偿还,导致债权人采取诉讼等措施对公司银行账户进行冻结。
杭州高新称,公司名下9个银行账户被冻结确实对日常经营管理和业务造成了一定的影响,但截至2020年11月22日,公司可用资金及票据共计1197万元,公司本次被冻结银行账户涉及资金余额为109万元,冻结金额占比9.1%,占比较小。公司仍有一个银行账户可正常接收客户电汇回款和电汇支出日常其余开支,因此不会对正常运行和经营管理造成重大影响。25日,公司表示,经公司与物产中大、杭州市上城区人民法院的协商,有2个账户已经解冻,剩余7个账户仍然处于冻结状态。
11月18日晚间,杭州高新发布公告称,近日,知悉公司基本银行账户及部分银行账户被冻结,基本账户系浙江物产中大(600704)联合金融服务有限公司与公司民间借贷纠纷一案向杭州市上城区人民法院申请强制执行导致冻结。细究银行账户被冻结的主要原因发现,公司原实际控制人高长虹在公司不知情的情况下与债权人签订《借款合同》,在未经公司同意的情况下将公司作为《借款合同》项下的共同借款人,以致部分债务到期公司未能偿还,导致债权人采取诉讼等措施对公司银行账户进行冻结。
杭州高新称,公司名下9个银行账户被冻结确实对日常经营管理和业务造成了一定的影响,但截至2020年11月22日,公司可用资金及票据共计1197万元,公司本次被冻结银行账户涉及资金余额为109万元,冻结金额占比9.1%,占比较小。公司仍有一个银行账户可正常接收客户电汇回款和电汇支出日常其余开支,因此不会对正常运行和经营管理造成重大影响。25日,公司表示,经公司与物产中大、杭州市上城区人民法院的协商,有2个账户已经解冻,剩余7个账户仍然处于冻结状态。
数据显示,截至2020年6月底,公司第一大股东高兴集团、第二大股东双帆投资所持股权都已100%质押,南靖互兴树湾股权投资合伙企业(有限合伙)180万股也已经悉数质押,杭州天眼投资有限公司也将手中454万股的93.35%进行质押。被质押股数占总股本的49.86%。
第一财经记者发现,目前高兴控股的部分质押股份已在阿里拍卖平台上被成功拍卖。
(数据来源:阿里拍卖网)根据8月14日公司发布的关于第一大股东所持公司部分股份将被司法处置的提示性公告,截至本公告披露日,高兴集团及当时实际控制人高长虹合计持有公司股份3971.8万股,占公司总股本的31.35%;合计质押股份数3876万 股,占其所持公司股份的97.59%,占公司总股本的30.6%;合计被司法冻结及轮候冻结股份数3972万股,占其所持公司股份的100%,占公司总股本的31.35%。
(数据来源:Wind资讯)数据显示,截至2020年6月底,公司第一大股东高兴集团、第二大股东双帆投资所持股权都已100%质押,南靖互兴树湾股权投资合伙企业(有限合伙)180万股也已经悉数质押,杭州天眼投资有限公司也将手中454万股的93.35%进行质押。被质押股数占总股本的49.86%。
第一财经记者发现,目前高兴控股的部分质押股份已在阿里拍卖平台上被成功拍卖。
(数据来源:阿里拍卖网)根据8月14日公司发布的关于第一大股东所持公司部分股份将被司法处置的提示性公告,截至本公告披露日,高兴集团及当时实际控制人高长虹合计持有公司股份3971.8万股,占公司总股本的31.35%;合计质押股份数3876万 股,占其所持公司股份的97.59%,占公司总股本的30.6%;合计被司法冻结及轮候冻结股份数3972万股,占其所持公司股份的100%,占公司总股本的31.35%。
值得注意的是,若本次高兴集团被拍卖的“杭州高新”股票791.5万股过户成功,高兴集团持有公司股份将减少至2990万股,占公司总股本的 23.6%,第一大股东将发生变更。