4000亿A股大白马将被买爆,外资机构称“措手不及”
一财网
原标题:4000亿A股大白马将被买爆,外资机构称“措手不及”
近4000亿市值的美的集团(000333.SZ)有可能成为大族激光(002008.SZ)之后,第二只被外资“买爆”的股票。根据深交所披露的数据,截至12月11日,美的集团外资持股数达19.19亿股,占总股本的27.53%。
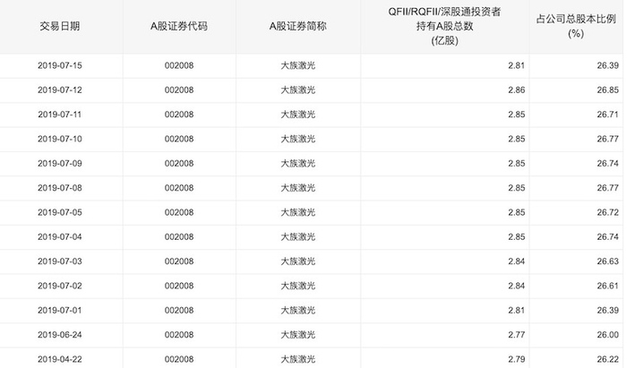
根据沪深交易所相关规定,单个境外投资者通过合格投资者持有一家上市公司股票,持股比例不得超过该公司股份总数的10%;所有境外投资者对单个上市公司A股的持股比例总和不超过该上市公司股份总数的30%。今年3月,大族激光外资持股比例超过28%,被深港通暂停接受买盘。
“往往要到濒临上限(外资持股上限)前,我们才会被交易所‘窗口指导’(不能继续买),其实我们也很被动,措手不及,买不到的话只能换一个买。”某QFII外资基金经理韩宣(化名)12月12日对第一财经记者表示,“在美的之前,外资在上海机场、大族激光上也发生过类似的状况。”
12月12日,北上资金继续净流入50亿元。


外资涌入A股白马股
外资买爆个别A股白马股,从某种程度上说明了中国的优质资产备受外资青睐。
年初至今,北上资金净流入近3100亿元。今年前三个季度,据瑞银证券估算,A股市场外资净流入总额为360亿美元。除去150亿美元的被动外资净流入(前两次MSCI提升A股纳入因子带来的90亿美元,以及A股首次纳入富时罗素指数带来的60亿美元),主动型外资净流入为210亿美元。

12月11日,港交所表示,香港市场参与者积极参与,令2019年沪深港通北向成交量创新高;截至10月31日,经沪深港通流入A股市场的净资金达8600亿元,中国香港和海外投资者通过沪深港通持有的中国内地股票总值达12200亿元。
截至9月19日的数据统计同时显示,外资持股(北向+QFII)比例最高的个股包括:华测检测、美的集团、 方正证券、泰格医药、上海机场、青岛海尔、上海国旅、宏发股份、宇通客车、安琪酵母、激光科技、恒瑞医药、启明星辰、华润三九、瀚蓝环境、格力电器、老板电器、生物股份、伊利股份等;外资持股市值最大的个股则包括:贵州茅台、中国平安、美的集团、恒瑞医药、五粮液、招商银行、海天味业、海螺水泥、长江电器、海康威视、平安银行等。

中金公司的研究数据也显示,沪深港通、QFII/RQFII持股比例较大的个股在过去多年来录得亮眼涨幅,通过持有高质量个股,外资获益颇丰,过去16年的平均年化回报率接近20%。

持股上限对市场造成潜在影响
但“持股上限”也对机构的投资组合管理以及市场预期造成了一定影响。
多家外资机构在采访中表达过上述担忧。“我们就此和监管层保持沟通。设置持股上限是新兴市场的普遍现象,先不谈是否提升上限,但应该提高透明度,提前披露持股比例,目前持股比例要达到26%时交易所才会披露,而这时离30%的上限仅一步之遥,因此可能导致投资者无暇事前准备。”MSCI中国研究主管魏震此前对第一财经记者称。
荷宝投资管理(Robeco)中国研究总监鲁捷则对记者表示,触及持股上限而被MSCI剔除的仅有大族激光,3月时外资持股比例超过13%的也仅约18家公司,现在看似问题不大,“但如果某只股票正好是某些基金的重仓股,那么会对单一基金造成一定影响。”
“如果未来大面积股票面临这样的问题,进一步放开持股上限是必要的。我们也和MSCI进行沟通,但目前无需过度担忧这一情况。”他称。
也有基金经理对记者表示,持股数据的披露往往存在时滞,机构事到临头才会被“窗口指导”。而部分个股濒临持股上限,也可能会对相关个股造成负面影响。12月12日收盘,美的集团报56.92元/股,跌0.25%。
贝莱德中国投资策略师陆文杰对第一财经记者表示,随着A股在MSCI新兴市场指数中的比重持续提高,“未来资金可能也不是单向的流入,进进出出是正常的现象。”
提高持股上限仍需时日
此前富时罗素提及,其最终计划是将A股全部100%纳入,但这需要满足几大条件,其中之一就是提高外资持股比例限制。不过,各界认为这仍是循序渐进的过程。
目前“买爆”仍是个例,多数明星股的外资持股比例仍在20%以下,而提高持股上限也需监管层根据事态发展进行相机抉择。
其实,设定外资在上市公司的持股比例限制并非中国特例,其他新兴市场经济体和地区都存在这类情况,且部分限制是针对特定行业。但就过去多年的发展历程而言,逐步放开持股限制是大势所趋。
例如,2015年,越南取消了外资在本国上市公司持股比例的限制,此前上限为49%。在此规定下,上市公司可以根据自身需要设定外资持股上限。例如,商业银行维持30%的持股上限。
第一财经记者梳理资料发现,韩国股市也经历了不断提高外资持股比例的7年。1992年开始,境外投资者首次被允许持有韩国上市公司,当时单个境外投资者持股限制为不超过单家公司自由流通市值的3%,1996年4月提升为4%,同年10月提升为5%,1997年5月再度提升至6%,同年11月为7%,同年12月一次性提升至50%,直到1998年5月,限制才彻底取消;此外,所有境外投资者的持股限制在1992年时为10%,到1997年11月增至26%,而上限在1998年5月完全取消。
段锐联财智董事总经理段嘉尚对第一财经记者表示,以台积电为例,其股权相对分散,在中国台湾股市对外开放及台股纳入MSCI比例不断提高的过程中,外资持续增持台积电,目前外资持股比例近80%,“外资持股相对稳定,也在一定程度上降低了股价波动。”
此内容为第一财经原创,著作权归第一财经所有。未经第一财经书面授权,不得以任何方式加以使用,包括转载、摘编、复制或建立镜像。第一财经保留追究侵权者法律责任的权利。 如需获得授权请联系第一财经版权部:021-22002972或021-22002335;banquan@yicai.com。