2017上半年离婚大数据:北上深广离婚率最高!出轨率最高竟是…
中国经济网
以下是在民政局官网上看到的一组惊掉下巴的数据,坐稳再看...
今年上半年全国新婚了558万对夫妇,同时有185万对离婚!离婚率最高的竟是北、上、深、广。

2012-2017全国上半年婚姻人口数据趋势(对)
中国离婚率一路走高,北上深广离婚率最高
2016年上半年全国依法办理离婚手续的共有168.3万对,比上年增长11%。
2015年依法办理离婚手续的共有384.1万对,比上年增长5.6%,其中:民政部门登记离婚314.9万对,法院办理离婚69.3万对。粗离婚率为2.8‰,比上年增加0.1个千分点。
从2002年开始,中国的离婚率就一路走高。2002年,中国粗离婚率仅有0.90‰,2003年达到1.05‰,到2010年突破2‰。当前数据显示,2015年粗离婚率为2.8‰,这也是2002年的3倍多。
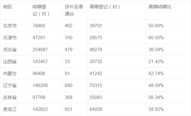
最新数据显示,2017上半年全国各级民政部门和婚姻登记机构共依法办理结婚登记558万对,比去年下降7.5%;依法办理离婚登记185.6万对,比去年同期上升10.3%。其中离婚结婚比最高前三甲分别为天津市、黑龙江、吉林省,离婚结婚比分别为60.50%、58.92%、56.34%,北京市以50.60%屈居第四。离婚结婚比最低的省份分别为西藏、甘肃和青海,离婚结婚比分别为10.53%、16.92%、17.06%。
国家民政部统计显示:中国离婚率十强城市分别是北京、上海、深圳、广州、厦门、台北、香港、大连、杭州和哈尔滨。其中,北上深广位居前四。

中国离婚率十强城市
离婚六大主要原因,第一的竟然是......
NO.6 购房需要
NO.5 不良嗜好
NO.4 婆媳不睦
NO.3 性格不合
NO.2 家庭暴力
NO.1 一方出轨
万万没想到!全职妈妈和IT男出轨率最高
调查显示,在中国,出轨的女性中,67%是全职妈妈为了寻求激情,其次是教师13.8%,医生8.6%,文秘7.2%,设计师6.1%。
而IT男,则是男性出轨率最高的,出轨率占比10.6%,金融业8.2%,教育业6.5%,医生4.6%,律师3.8%。

全国2017上半年婚姻人口总数据



面对2017年上半年数据,看看网友是怎么解读的?
1、整体结婚的减少,离婚的增多,不可逆的格局,已浑然天成!
2、四川,2016年登顶离婚对数最多省份,可怕的是,2017上半年卫冕成功了。
3、上海,上半年脱离了结2对离超过1对的范畴,不过下半年应该能迎头赶上再次入围。还有,吉林和黑龙江好像就不想脱离。
4、北京天津离婚情况稳定,特别的稳定,直辖市的优势体现很明显。
5、全国唯一的百万结婚对数大省河南,自2015年后,就成为了历史。
6、离婚因素多,不一而同,博爱、陌陌、微信、政策调控、千禧一代等等。
7、关于婚嫁行业,不受影响是不可能的,毕竟二胎的那批孩子,20年后才能等到。
8、但完全归结于此,也是不可能的。爱在心头口难开,生意还看人脑袋。
9、日本那边离婚仪式市场很热,还有家知名企业,可以关注下。
10、「深挖二婚市场,做好二婚服务」可能真的是下一步工作重点!
对于一路走高的离婚率,以及离婚也要“争”前列的一线城市,朋友你怎么看?欢迎文末留言~
更多
▶马云的刷脸支付真的来了!全球首站已上线▶扎心!1464万大奖被弃领,千万奖金最终给了TA...▶《史记》中的相人术来源:中商产业研究院
责任编辑:宋雅宁
支持我们请点赞或使用评论功能↓↓
【本文来自微信公众号“中国经济网”】