新浪新闻

从炒股买房到近3亿元玩投资 揭陆毅的商业版图

每日经济新闻

关注

最近,你有没有和火山君(微信号:huoshan5188)一样,全家坐在电视机旁,追着一部叫《人民的名义》的大剧?

没有小鲜肉,没有IP剧情,却一样让90后欲罢不能,彻底俘获了各个年龄段的小心脏!

达康书记的GDP等表情包简直霸占了你我的移动流量包,老戏骨之间疯狂飙戏的节奏,看得大家激动不已!主角没红,配角却火了,这种事情也时有发生!这部大剧中最火的就是达康书记,却不是颜值担当的男一号陆毅!不过,陆毅还是赢得一片肯定:“不是陆毅演技差,实在对戏的都是老戏骨!”

暂不提演技,今天火山君(微信号:huoshan5188)想换个角度来扒一扒,汉东BOYS天团们的投资经。经过一番查阅,火山君想说的是,就投资理财这块,这次“侯亮平”陆毅很可能已经走在了汉东广大干部领导的前面。

陆毅夫妇直接参投PE

▲《人民的名义》中的陆毅(图片来源:@陆毅)

以往明星买房、炒股、搞工作室的还真不少,时不时在一些公司的股东名单中,就能看到熟悉的身影。

不过,明星参股或是直接成立股权投资基金,玩PE的则比较少见。毕竟股权投资基金对于投资人的投资眼光、专业能力的要求相较前两者,是只多不少。

而火山君发现,陆毅已开启了PE直投模式。早些年,陆毅接受采访时曾公开表示,家里的一切财政大权都由妻子鲍蕾一手掌控,而他对鲍蕾的理财能力也非常信任。为了让家庭资产保值增值,她一直都在学习理财,以前投资很激进,但现在会选择更稳健的理财方式。

火山君在启信宝上查询到,陆毅和鲍蕾共同参股了一家公司名叫宁波嘉睦承久股权投资基金合伙企业(有限合伙)(以下简称宁波嘉睦)的股权投资基金。这家股权投资基金的管理人、法人股东为宁波保税区嘉信麒越股权投资管理有限公司,而陆毅和鲍蕾夫妻作为自然人股东的认缴出资额共计2.97亿元,另一家法人股东出资为300万元。

根据基金业协会备案显示:

而宁波嘉睦的管理人也值得注意,其法人代表为孙力生。

宁波嘉睦去年4月成立、7月备案,满打满算到今天成立时间也才满一年,不过,火山君(微信号:huoshan5188)注意到,这一年时间里宁波嘉睦真没闲着,投资了5家公司。如下图:

从这5家公司的行业分布也能看出,宁波嘉睦的投资并非仅局限在某个行业领域当中。杭州维讯机器人科技有限公司、北京卡富通盈科技有限公司、南京清华永新网络科技有限公司都属于软件和信息服务业,另外2家公司则分别是餐饮和批发业。总体来看,涉及的方向有:

智能机器人,互联网+、网络安全、餐饮、奢侈品等。

从所投资的企业成立时间来看,除杭州维讯机器人科技有限公司成立时间还不到5年,其余时间都在5年到10年之间。

老实讲,这5家公司还真的勾起了火山君的好奇心,火山君特别注意到的是杭州维讯机器人和北京卡富通盈这两家。

NO1。杭州维讯机器人

仔细翻阅杭州维讯机器人科技公司股东的背景,火山君更值得细细揣摩,其和上市公司大华股份的高层有着更为紧密的联系。下面直接上图:

从上图不难看出,陆毅夫妇出资的宁波嘉睦承久出资142.9万元,是仅次于申屠美良的第二大股东。更值得注意的是,杭州维讯机器人科技公司自然人股东朱江明和陈爱玲,疑似是现有上市公司大华股份的高层。而大华股份公开的高官名录中是这样写的:

这几年来,机器人是实业界、投资界甚至资本市场上的热门话题,而宁波嘉睦投资这家机器人公司,多少也能看出其布局机器人产业的想法。

日前,“第11届中国投资年会年度峰会”发布的《2016中国PE/VC行业白皮书》(以下简称报告)显示科技、传媒和通信(TMT)行业热度持续,技术驱动型行业成热点。报告指出,从投资主题上看,2015年大数据、移动医疗和智能硬件的投资热潮延续到2016年。从行业趋势来看,2016及2017的投资主题将更聚焦于以高新技术为核心的应用,2015年的互联网消费平台热度逐渐冷却。服务云端化、硬件制造智能化将成为新一轮投资热点。

NO2。北京卡富通盈科技有限公司

而另一家北京卡富通盈旗下子公司客来乐则在去年被媒体报道获得了1.1亿元的B轮融资。卡富通盈的核心产品之一:客来乐互联网收银台。客来乐给自己勾画的就是成为世界级的实体商业大数据营销服务公司,帮助实体商业获取更高的营业额和利润。其目前专注于独有的智能联动高新技术,几分钟即可将商户传统收银台升级到互联网收银台,使移动互联网技术与传统收银软件完美结合,帮助实体店建立与消费者的联系,重构实体商业的粉丝经济基础,并为实体商业提供了与收银台智能联动的多种互联网营销手段。

值得注意的是,客来乐创始人兼CEO王伟是腾讯系长青腾首期学员,从事过零售ERP、银行系统、移动互联网系统、运营商系统的软硬件产品设计及开发工作。客来乐也是其最近15年的第3家互联网企业,前2家已经成功上市及被并购。

NO3。南京清华永新网络科技有限公司

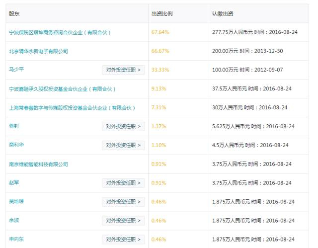
根据相关图片信息显示,南京清华永新网络科技公司是一家侧重于信息安全的公司。其股东信息如下图:

▲注:图上信息来自天眼查

从其公布的信息显示,陆毅夫妇是在去年8月24日认缴出资了37.5万元,占公司出资比例的9.13%,与其同时进入的还有上海常春藤数字与传媒股权投资基金合伙企业(有限合伙)。

NO4。碟中碟餐饮管理(上海)有限公司

相关信息显示,该公司主打餐饮,其下属主品牌为“大咀港式茶餐厅”,目前已对外投投资了11家餐饮类或产业链上下游企业公司。

而从下图的股东信息显示:这极有可能是陆毅夫妇旗下公司成立后首家投资的企业,其认缴出资时间为2016年6月1日,出资金额约为210万元,出资比例为10.42%。

NO5。深圳彼爱钻石有限公司

相关资料显示,这是一家主打珠宝、钻石类批发、零售类公司;其目前的4家分支机构都在深圳地区。

也许,陆毅夫妇并没参与到宁波嘉睦的日常管理运作当中。而且,仅从目前的公开信息中,还难以看到收益情况。毕竟,投资尤其是股权投资是一项长期事业,容不得急躁,心急吃不了热豆腐更吃不到好豆腐。不过,能有股权投资意识,火山君就要为两位点赞了。因为现在大家都知道:拥有一份股权当优质企业的股东,是不少人的梦想!

这不,电视剧《人民的名义》里面大风厂的员工情绪激动,不就是因为手中的股权成了到手的鸭子飞了!

火山君记得以前也曾报道过陆毅夫妻拥有多处房产和投资,是名副其实的隐形富豪。如果真如坊间传言,那陆毅夫妇在投资上还确实挺有一套的,起码从早先年的炒房、炒股过渡到股权投资,踩对节奏、敢于出手这两点,说不定就这能引领汉东boys天团!

“沙书记”也没闲着

事实上,近几年来财经新闻里也经常能见到明星、演员的身影。这一方面是上市公司投资、收购明星持股公司的事件本身足够吸引眼球,另一方面则也和各路明星愈发多地涉足投资有分不开的关系。

比如唐德影视披露招股说明书登陆创业板时,范冰冰、张丰毅等一众明星股东就曾备受关注。火山君也注意到,广州众悦电影金融有限公司(以下简称众悦电影金融)的股东名单中也出现了“沙瑞金”书记张丰毅。

众悦电影金融成立在2015年12月,经营业务包括电影、电视投融资金融服务、广播电视节目制作等方面。

而众悦电影金融其实已经在与资本市场“牵手”了。今年2月,新三板公司圣火股份公告披露拟630万收购其21%股权。

火山君注意到,“沙书记”虽然没有直接参股股权投资基金,但众悦电影金融旗下已经有一家全资子公司正是股权投资基金公司。

在启信宝上,火山君查询到广州众悦影视股权投资基金管理有限公司成立在去年1月,不过其截至目前的对外投资情况仍无法看到。

每经编辑 吴永久 李净翰

来源:火山财富

责任编辑:向昌明 SN123

加载中...