神华宁煤、六盘山干部学院、石嘴山第一人民医院在招人!速报名!
政府网站
原标题:神华宁煤、六盘山干部学院、石嘴山第一人民医院在招人!速报名!

抓住十月的尾巴
发布君赶紧为大家带来一波招聘
希望对你有用
也预祝大家都能找到心仪的工作

此次招人的单位有
↓
国能神华宁煤集团六盘山干部学院
石嘴山第一人民医院
永宁县中医院
具体内容如下

国能神华宁煤集团招聘230人
国家能源集团全称国家能源投资集团有限责任公司,是经党中央、国务院批准,由中国国电集团公司和神华集团有限责任公司合并重组而成,于2017年11月28日正式挂牌成立的中央直管国有重要骨干企业,2018年世界500强排名第101位。拥有煤炭、火电、新能源、水电、运输、化工、科技环保、金融等8个产业板块,是全球最大的煤炭生产公司、火力发电公司、风力发电公司和煤制油煤化工公司。资产规模超过1.8万亿元,职工总数35万人。
一、资格条件
(一)全国普通高等院校全日制统招统分应届毕业生;回国(境)后初次就业且具有教育部留学服务中心派遣资格的国(境)外留学生。
(二)两年择业期内未就业毕业生,即毕业离校时未落实工作单位,户口、档案保留在原就读学校或转回入学前户籍所在地的毕业生。
(三)本科及以上学历毕业生须取得相应的毕业证和学位证。
(四)遵纪守法、品行端正、综合素质好,身体健康,能满足岗位工作要求。
二、招聘岗位
主要面向国家能源集团所属72家子分公司的生产、科研、管理岗位,涉及化学、大气科学、海洋科学、地球物理学、地质学、力学、机械工程、仪器科学与技术、材料科学与工程、冶金工程、动力工程及工程热物理、电气工程、信息与通信工程、控制科学与工程、计算机科学与技术、土木工程、水利工程、测绘科学与技术、化学工程与技术、地质资源与地质工程、矿业工程、石油与天然气工程、交通运输工程、船舶与海洋工程、环境科学与工程、软件工程、安全科学与工程、法学、经济学、管理学、文学等学科。
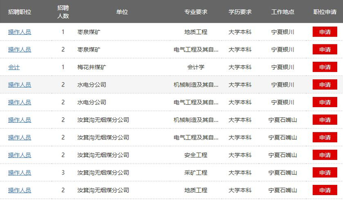
宁夏地区招聘岗位:
(请点击图片放大查看)











三、时间安排
(一)网上报名:10月29日—11月11日
(二)全国统考:11月18日(具体时间以准考证为准)
四、应聘指南
(一)查询职位。应聘人员可登陆国家能源集团人力资源招聘网站
(http://zhaopin.chnenergy.com.cn)校园招聘栏查询具体招聘信息。
(二)注册简历。应聘人员需按照系统指引,进行实名注册,并填写个人简历。
(三)应聘职位。每名毕业生仅可应聘1个岗位,请慎重选择。如需更换岗位,须取消前次应聘,再发送新的求职申请,取消报名的岗位不能再次应聘。
(四)考试测评。集团公司将组织全国统一笔试、子分公司面试等考核。将以网站系统、手机短信、电子邮件等形式事先通知,请确保填写的邮箱、手机号码有效,并及时查阅相关信息。
(五)签订协议。通过考试测评确定拟录取人员,并在招聘系统公示无异议后,招聘单位将组织毕业生签订就业协议。
(六)入职报到。毕业生报到时应提供就业报到证、毕业证、学位证、户口迁移证、人事档案等相关材料。
五、注意事项
(一)请应聘人员于报名时间截止前完成报名。在浏览网页时,推荐您使用IE8及以上浏览器或360浏览器。
(二)应聘人员务必准确、完整填写简历信息,并对所提供信息真实性负责。如发现虚假信息,国家能源集团有权取消毕业生应聘资格。
(三)国家能源集团不组织应聘前培训活动,也不以任何形式向应聘人员收取报名、培训等费用,请应聘人员提高警惕,谨防受骗。
(来源:国家能源集团人力资源招聘网站)
宁夏六盘山干部学院招聘
为进一步提升培训质量水平,充实宁夏六盘山干部学院办学力量,适应大规模对外培训需要,现面向社会公开招聘编外工作人员4名,其中教务管理人员1名,教学助理3名。现将有关事宜公告如下:
一、招聘原则
面向社会、公平公开、平等竞争、择优录用。
二、报考条件
(一)基本资格与条件
1.政治素质过硬,遵纪守法,热爱党的干部教育事业,具有良好的业务能力,事业心、责任感强;
2.国家统一招生的应届、往届全日制大学专科及以上学历;
3.年龄在30周岁以下(1988年1月1日以后出生),身心健康,具备履职的身体条件;
4.普通话好,语言表达流畅,有较强的文字写作能力;
5.能熟练运用电脑办公软件。
(二)有下列情形之一者不得报名
1.工作中曾发生较大失误的;受到组织处理或党纪政纪处分影响聘用的;涉嫌违法违纪正在接受审查尚未做出结论的;
2.违反社会公德、职业道德、家庭美德等,造成不良影响的;
3.其他不符合招聘有关规定情形的。
(三)具体职位条件
1.教务管理岗位1名
报考条件:教务管理人员为教育学类、文学类、历史学类、计算机类等相关专业。
2.教学助理岗位3名
报考条件:教学助理为文学类、历史学类、播音主持类、旅游管理类、计算机类等相关专业。
三、招聘程序
(一)报名
1.报名时间:2018年10月29日-2018年11月9日(10个工作日)报名,逾期不再补报。
2.报名地址:在宁夏六盘山干部学院(固原市委党校)教务部办公室(办公楼三楼)现场报名。
3.资格初审:须提交本人毕业证书、学位证书、身份证原件及复印件、近期1寸免冠照片4张(须在照片后署名以备办准考证时用)。宁夏就业招聘网微信平台,须填写《宁夏六盘山干部学院招聘编外工作人员报名登记表》一式两份。每位报考者只能报考一个职位。经资格审查合格参加笔试的人数与招聘名额的比例不低于3:1。报考者的资格审查贯穿招聘工作全过程。凡发现不符合报考条件的,取消招聘资格。
联系人:徐文娟
联系电话:0954-2062301
(二)笔试
1.笔试科目。按照教务管理人员及教学助理岗位要求,笔试科目分为两个类别:教务管理人员类(A类)、教学助理类(B类),分值分别为100分。
2.笔试时间地点。笔试在宁夏六盘山干部学院(固原市委党校)统一组织进行,具体考试时间地点以笔试准考证为准。考生必须携带正式有效身份证(过期身份证、户籍证明等不作为有效证件)和笔试准考证参加考试。
3.报考者于笔试结束3个工作日后登录宁夏六盘山干部学院官方网站(网址:http://www.gyswdx.gov.cn/)查询笔试成绩。
4.笔试结束后,根据笔试成绩从高分到低分,按面试人员与招聘职位人数3:1的比例确定面试人员。
(三)面试
1.面试由院(校)组织实施。根据岗位需要,采取结构化方式进行,满分为100分。重点测评应聘人员与岗位相适应的专业知识、业务能力和工作技能等。
2.面试考官由7人组成。考生的面试成绩由7名考官所给分数中去掉一个最高分和一个最低分后的算术平均值。考生的面试成绩于所有参加面试人员面试结束后当天统一公示。
3. 考试总成绩的计算方法为:考试总成绩=笔试成绩×40%+面试成绩×60%。
4. 报考者于面试结束1个工作日后登录宁夏六盘山干部学院官方网站(网址:http://www.gyswdx.gov.cn/)查询考试总成绩。
5.根据考试总成绩,由院(校)从高分到低分,按岗位招聘计划1:1的比例,确定体检、考察对象。考试总成绩出现并列时,按笔试成绩从高分到低分确定拟体检、考察人员。
(四)体检
1.体检工作由院(校)负责组织实施。
2.体检须在县级以上综合医院进行。
3. 院(校)或受检人对体检结果有疑问的,可以复检。复检只能进行一次,体检结果以复检结论为准。
4.应聘者要认真完成全部体检项目,如在规定时间不按要求完成体检项目的,视同自动放弃体检资格。
5.体检费用由考生承担。申请复检的考生,应另外承担复检相关费用。
6.因放弃体检资格或体检不合格等情况出现岗位空缺的,该岗位可以按照考试总成绩从高到低依次递补。
(五)考察
1.考察工作由院(校)负责组织实施。
2.考察按照德才兼备、以德为先的用人标准,重点考察应聘者的政治思想、道德品质、能力素质、工作表现、遵纪守法、廉洁自律等方面的情况,考察中还要对应聘者的招聘资格进行复审。
3.考察中发现因个人品德差、有不良政治或诚信记录、弄虚作假等行为且被有关部门依法依规予以处理(解除处分或超过处分期除外),并确有事实依据,取消招聘资格。
4.因放弃考察资格或考察不合格被取消资格等情况出现岗位空缺的,该岗位可以按照考试总成绩从高到低依次递补。
5.考察不计入考试总成绩。
(六)公示
根据考试、体检、考察结果,确定拟聘用人员名单,在宁夏六盘山干部学院官方网站(网址:http://www.gyswdx.gov.cn/)公示5个工作日。如有举报反映的,经核查属实影响聘用的,取消聘用资格。被招聘人员无正当理由逾期(自接到聘用通知10日内)不报到的,取消聘用资格。
四、招聘待遇
公示期满无异议的拟聘用人员,正式签订聘用合同。合同期限为二年。合同期内,工资待遇3400元/月(含个人应缴纳的“三险”), “三险”交纳按照有关规定执行。聘用期满后,经双方协商,可以续聘。
(来源:宁夏六盘山干部学院官网)
石嘴山市第一人民医院招聘76人
一、医 院 简 介
石嘴山市第一人民医院始建于1959年,已发展为医疗、教学、科研、预防、保健、康复为一体的综合性三级乙等医院,是宁夏医科大学附属医院,北方民族大学教学医院,内蒙古乌海市、鄂尔多斯市医保定点医院,服务半径辐射宁北蒙西150余万人口,与上海仁济医院缔结“医联体医院”。
现有职工870余名,开放床位600张,拥有国内知名特聘专家9名,自治区级专家、“塞上名医”4名,市政府特殊津贴人才、市“351”人才47名。博士1名,硕士16名,主任医师、副主任医师以上高级职称140名。
二、岗 位 介 绍
为满足医院临床工作需求,医院本着“公开、公平、择优”的原则,拟公开招聘以下岗位人员:


三、薪 酬 待 遇
1、急需紧缺接收或引进的博士研究生、学科带头人等人才,提供不少于100平米(限于惠农区)的住房或时值安家费40万。
2、医学硕士(毕业证、学位证、临床医师资格证)15万;医技硕士、护理硕士、公共卫生管理硕士等(毕业证、学位证、临床医师资格证)给予10万。
3、规培生(取得规培证和临床医师资格证)给予8万。
4、研究生及以上学历享受学位津贴。
四、联 系 方 式
1、本人持简历及相关材料投档至该院人力资源科;
2、电子简历投至syyhr7650@163.com。
3、石嘴山市第一人民医院人力资源科
电子邮箱:syyhr7650@163.com
联系电话:0952-3317650;13079521203

来源:银川发布综合整理
编辑:堇生